• 专利申请
    2019-12-02
  • 公布公告
    2020-09-04
  • 授权日期
    2020-09-04
  • 终止
    2030-09-02
一种涂布装置用引流装置
一种涂布装置用引流装置
* 专利信息仅供参考,不具有法律效力。 有效专利
CN201922116603.9 2019-12-02 B05C11/10 {{ classMap["B05C11/10"] }}
南通金禧莱纺织科技有限公司 查看申请人名下所有专利
江苏省南通市江苏南通通州区先锋工业园区
专利分类项目
专利注册信息
初审公告期号 2019-12-02 初审公告日期 2020-09-04
注册公告期号 2020-09-04 注册公告日期 2020-09-04
专用权期限 2020-09-04 - 2030-09-02 专利类型 实用新型
代理组织机构 --
专利介绍
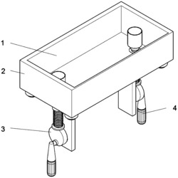
本实用新型公开了一种涂布装置用引流装置,包括引流管机构,引流管机构安装支架,涂布装置用引流装置上的引流管机构上设有导管,导管的上方设有引流管,引流管底端与导管顶端连接的外部设有套管,所述套管的外部设有垫圈,垫圈的上方设有固定螺丝,引流管机构安装支架上设有立柱,立柱的顶端对称设有螺丝连接槽,立柱的一侧设有固定片,固定片的顶端通过螺丝与螺丝连接槽固定连接,固定片靠近顶端的一侧设有固定角块,固定角块与立柱之间焊接连接,固定片的正侧面设有支架片,支架片与固定片之间焊接连接,该装置设计合理,采用双重支架片将引流管机构固定,使装置长时间使用保持稳定。
法律进度
  • 2020-09-04 授权 ...

同类专利

咨询该专利

您还可以
推荐专利
{{ v.name }}
取 消 确 定