• 专利申请
    2019-12-02
  • 公布公告
    2020-09-08
  • 授权日期
    2020-09-08
  • 终止
    2030-09-06
一种面料与塑胶壳热压贴合装置
一种面料与塑胶壳热压贴合装置
* 专利信息仅供参考,不具有法律效力。 有效专利
CN201922116525.2 2019-12-02 B29C65/18 {{ classMap["B29C65/18"] }}
广东新意通讯科技有限公司 查看申请人名下所有专利
广东省东莞市大朗镇松木山祥荣路12号
专利分类项目
专利注册信息
初审公告期号 2019-12-02 初审公告日期 2020-09-08
注册公告期号 2020-09-08 注册公告日期 2020-09-08
专用权期限 2020-09-08 - 2030-09-06 专利类型 实用新型
代理组织机构 --
专利介绍
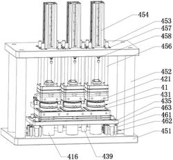
本实用新型公开了一种面料与塑胶壳热压贴合装置,包括下模板,所述下模板的顶部设置有上模板,所述下模板的顶部固定连接有下模限位柱,所述上模板的底部固定连接有与下模限位柱配合使用的上模限位柱,所述下模板的顶部固定连接有导柱,所述导柱的表面套设有直线轴承。本实用新型通过设置下模板、上模板、下模限位柱、上模限位柱、导柱、直线轴承、下模芯、产品托板、载具托板、产品转运载具、定位柱、隔热板、上模芯、发热管和热电偶,能够对面料与塑胶壳进行热压贴合,解决了现有热压贴合装置不便于面料与塑胶壳热压贴合的问题,该面料与塑胶壳热压贴合装置,具备便于面料与塑胶壳热压贴合的优点,值得推广。
法律进度
  • 2020-09-08 授权 ...

同类专利

咨询该专利

您还可以
推荐专利
{{ v.name }}
取 消 确 定