• 专利申请
    2019-11-30
  • 公布公告
    2020-07-17
  • 授权日期
    2020-07-17
  • 终止
    2030-07-15
一种毛巾织造卷取装置
一种毛巾织造卷取装置
* 专利信息仅供参考,不具有法律效力。 有效专利
CN201922109924.6 2019-11-30 B65H23/26 {{ classMap["B65H23/26"] }}
淮安市和谐高铁客车用品有限公司 查看申请人名下所有专利
江苏省淮安市淮安区复兴镇工业集中区
专利分类项目
专利注册信息
初审公告期号 2019-11-30 初审公告日期 2020-07-17
注册公告期号 2020-07-17 注册公告日期 2020-07-17
专用权期限 2020-07-17 - 2030-07-15 专利类型 实用新型
代理组织机构 --
专利介绍
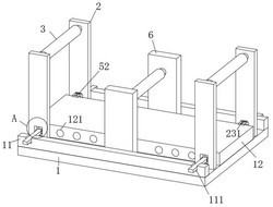
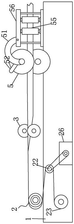
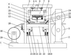
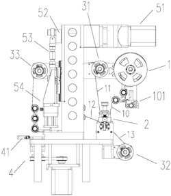
本实用新型公开了一种毛巾织造卷取装置,包括机架,所述机架内底部一侧通过轴套导布辊A和导布辊B,且导布辊B位于导布辊A一侧,所述机架一侧底部通过紧固螺栓安装有减速电机,且减速电机一侧动力输出端通过联轴器与导布辊A一端连接,所述导布辊A另一端套装有圆柱形外接转筒,且机架另一侧底部通过紧固螺栓安装有机械式计米器,所述机械式计米器的转动轮与圆柱形外接转筒转动连接,所述机架内顶部一侧通过轴套安装进料导布辊,且机架一侧顶部通过固定架安装除静电离子风机,所述机架顶部焊接n形安装架,且n形安装架底部通过拉杆安装喷气管。本实用新型毛巾织造卷取装置,设计合理,结构简单,适合被广泛推广和使用。
法律进度
  • 2020-07-17 授权 ...

同类专利

咨询该专利

您还可以
推荐专利
{{ v.name }}
取 消 确 定