• 专利申请
    2019-11-28
  • 公布公告
    2020-07-24
  • 授权日期
    2020-07-24
  • 终止
    2030-07-22
一种组合式分支光缆
一种组合式分支光缆
* 专利信息仅供参考,不具有法律效力。 有效专利
CN201922085159.9 2019-11-28 G02B6/44 {{ classMap["G02B6/44"] }}
江苏迪睿特光电科技有限公司 查看申请人名下所有专利
江苏省常州市武进区礼嘉镇何墅村何墅路1号
专利分类项目
专利注册信息
初审公告期号 2019-11-28 初审公告日期 2020-07-24
注册公告期号 2020-07-24 注册公告日期 2020-07-24
专用权期限 2020-07-24 - 2030-07-22 专利类型 实用新型
代理组织机构 --
专利介绍
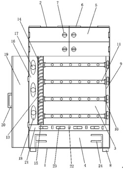
本实用新型公开了一种组合式分支光缆,包括金属中心加强芯和分支缆芯,所述分支缆芯的表面设置内护层,所述内护层的表面设置有加强层,所述加强层的表面设置有外护层,所述外护层的表面设置有聚酯层,所述金属中心加强芯与聚酯层之间填充有防水材料。本实用新型通过内护层和外护层的设计,对分支缆芯提供双重保护,提高绝缘性,防止外界环境干扰信息传递,通过设计加强层,提高了分支光缆结构强度,抗变形能力强,提高使用寿命,通过设计防水材料,避免分支光缆在吸潮后水份沿光缆纵向深入导致光缆绝缘性能的下降,同时防止分支光缆晃动,从而达到使用寿命长的效果,解决了现有装置使用寿命短的问题。
法律进度
  • 2020-07-24 授权 ...

同类专利

咨询该专利

您还可以
推荐专利
{{ v.name }}
取 消 确 定