• 专利申请
    2019-11-05
  • 公布公告
    2020-07-24
  • 授权日期
    2020-07-24
  • 终止
    2030-07-22
一种纺织机用变幅导轨的固定机构
一种纺织机用变幅导轨的固定机构
* 专利信息仅供参考,不具有法律效力。 有效专利
CN201921896036.7 2019-11-05 F16C29/02 {{ classMap["F16C29/02"] }}
无锡钱桥纺机设备有限公司 查看申请人名下所有专利
江苏省无锡市惠山区钱桥洋溪村
专利分类项目
专利注册信息
初审公告期号 2019-11-05 初审公告日期 2020-07-24
注册公告期号 2020-07-24 注册公告日期 2020-07-24
专用权期限 2020-07-24 - 2030-07-22 专利类型 实用新型
代理组织机构 上海联科律师事务所 查看该机构代理的所有专利
专利介绍
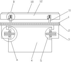
本实用新型属于机械领域,公开了一种纺织机用变幅导轨的固定机构,包括一个安装座,所述安装座的上表面设置有一个导轨定位机构,位于所述导轨定位机构一侧的安装座上表面设置有一个夹持机构,所述夹持机构的内部设置有一个驱动机构,所述驱动机构的其中一端贯穿安装座的对应侧壁并延伸至安装座外且固定连接有一个转动机构,在使用时,首先将导轨下表面的定位杆与定位槽对准并插入,然后再通过转动把手转动丝杆,丝杆通过与丝杆螺母的配合带动夹持板移动,直至夹持板移动至导轨上方且与导轨的上表面相抵,夹持板对导轨进行夹持固定防止导轨起伏晃动的同时,定位杆与定位槽的配合使得导轨无法左右晃动,简单便捷的完成了导轨的安装。
法律进度
  • 2020-07-24 授权 ...

同类专利

咨询该专利

您还可以
推荐专利
{{ v.name }}
取 消 确 定