• 专利申请
    2019-08-16
  • 公布公告
    2020-09-11
  • 授权日期
    2020-09-11
  • 终止
    2030-09-09
一种学生用试卷存放装置
一种学生用试卷存放装置
* 专利信息仅供参考,不具有法律效力。 有效专利
CN201921334959.3 2019-08-16 A47B63/00 {{ classMap["A47B63/00"] }}
胡正阳 查看申请人名下所有专利
安徽省阜阳市颍上县三十铺镇小海村李庄李西队70号
专利分类项目
专利注册信息
初审公告期号 2019-08-16 初审公告日期 2020-09-11
注册公告期号 2020-09-11 注册公告日期 2020-09-11
专用权期限 2020-09-11 - 2030-09-09 专利类型 实用新型
代理组织机构 北京盛凡智荣知识产权代理有限公司 查看该机构代理的所有专利
专利介绍
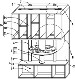
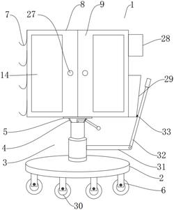
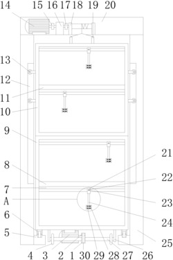
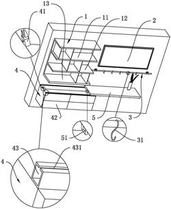
本实用新型涉及学生用品技术领域,且公开了一种学生用试卷存放装置,解决了目前试卷存放不便查找,以及存放杂乱不整齐的问题,其包括下盒体和上盒体,所述下盒体上端后侧连接有上盒体,本实用新型,通过第一抽屉、第二抽屉和分隔组件的设置,将试卷放置于第一抽屉、第二抽屉或分隔组件上的存放槽内,粘贴对应科目类别标签,从而使得试卷能够根据不同科目分类别存放,且找寻快速,有效的避免试卷杂乱;通过下盒体和上盒体的上下结构设置,将第一抽屉和第二抽屉分别设置于下盒体的前端和侧端,以及将分隔组件设置于上盒体内,便于对下盒体和上盒体的空间最大限度利用,从而使得存放空间较大,能够存放较多的试卷,且存放整齐有序。
法律进度
  • 2024-10-15 专利权的转移 登记生效日: 2024.09.24 专利权人由合肥小胖墩信息科技有限公司变更为合肥蜀西趣涂教育科技有限公司 国 ...

  • 2022-10-11 专利权的转移 登记生效日: 2022.09.23 专利权人由胡正阳变更为合肥小胖墩信息科技有限公司 地址由236000 安徽 ...

  • 2020-09-11 授权 ...

同类专利

咨询该专利

您还可以
推荐专利
{{ v.name }}
取 消 确 定