• 专利申请
    2019-07-16
  • 公布公告
    2020-05-12
  • 授权日期
    2020-05-12
  • 终止
    2030-05-10
一种卷式宠物尿垫的加工设备
一种卷式宠物尿垫的加工设备
* 专利信息仅供参考,不具有法律效力。 有效专利
CN201921115191.0 2019-07-16 B26D3/08 {{ classMap["B26D3/08"] }}
东台远东纸业有限公司 查看申请人名下所有专利
江苏省盐城市东台市经济开发区纬二路12号
专利分类项目
专利注册信息
初审公告期号 2019-07-16 初审公告日期 2020-05-12
注册公告期号 2020-05-12 注册公告日期 2020-05-12
专用权期限 2020-05-12 - 2030-05-10 专利类型 实用新型
代理组织机构 苏州创策知识产权代理有限公司 查看该机构代理的所有专利
专利介绍
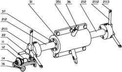
本实用新型公开了一种卷式宠物尿垫的加工设备,通过控制开关组打开传送装置将宠物尿垫往前传送,然后通过控制开关组打开第一电机带动凸轮转动,当凸轮的突出部分转动到转轮的圆周面上时,使得凸轮将安装座向下挤压,从而使得刀片向下对宠物尿垫的上表面切割出断点线,在凸轮的突出部分远离转轮时安装座下方安装的弹簧弹开,带动刀片向上,通过刀片上下的往复运动对宠物尿垫进行切割,宠物尿垫的前端通过从动转轴向下侧移动,使得宠物尿垫的前侧粘在卡板的上侧,然后通过控制开关组打开第二电机带动主动转轴转动,使得宠物尿垫卷在主动转轴的圆周面上,这样的加工出的宠物尿垫呈卷式,存放空间大大减小,而且使用更加方便。
法律进度
  • 2020-05-12 授权 ...

同类专利
  • 一种管道内壁仿生沟槽表面加工装置及其加工方法

  • 一种专用于餐饮业火腿切花的装置

咨询该专利

您还可以
推荐专利
{{ v.name }}
取 消 确 定