• 专利申请
    2019-04-18
  • 公布公告
    2019-12-10
  • 授权日期
    2019-12-10
  • 终止
    2029-12-07
一种汽车线束保护套
一种汽车线束保护套
* 专利信息仅供参考,不具有法律效力。 有效专利
CN201920525570.0 2019-04-18 H02G3/04 {{ classMap["H02G3/04"] }}
苏州凯维特汽车部件有限公司 查看申请人名下所有专利
江苏省苏州市高新区金燕路8号阳山科技工业园26号
专利分类项目
专利注册信息
初审公告期号 2019-04-18 初审公告日期 2019-12-10
注册公告期号 2019-12-10 注册公告日期 2019-12-10
专用权期限 2019-12-10 - 2029-12-07 专利类型 实用新型
代理组织机构 南京纵横知识产权代理有限公司 查看该机构代理的所有专利
专利介绍
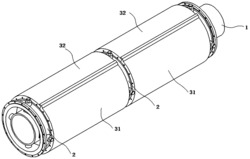
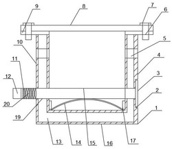
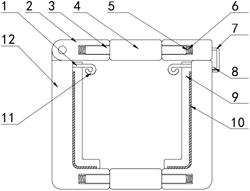
本实用新型公开了一种汽车线束保护套,包括两个半圆形保护套,两个半圆形保护套连接形成保护套外体,保护套外体的一个连接处外侧设置有弧形合页,弧形合页的两片分别与两个半圆形保护套外侧固定连接,在保护套外体的另一个连接处,一个半圆形保护套端部设置有一体连接的齿形连接部,另一个半圆形保护套端部开设有卡接凹槽,卡接凹槽内固定有内部为齿形的卡接套,齿形连接部插入卡接套,半圆形保护套的内侧设置有第一橡胶套,第一橡胶套内腔设置有固定杆,固定杆的头部连有第二橡胶套。本实用新型提供的一种汽车线束保护套,能够将线束进行分离,避免老化后发生短路隐患,同时具备检修方便和节约资源优点。
法律进度
  • 2019-12-10 授权 ...

同类专利

咨询该专利

您还可以
推荐专利
{{ v.name }}
取 消 确 定