• 专利申请
    2019-12-31
  • 公布公告
    2023-04-07
  • 授权日期
    2023-04-07
  • 终止
    2033-04-04
一种磺酸类锌金属有机配合物及其应用
一种磺酸类锌金属有机配合物及其应用
* 专利信息仅供参考,不具有法律效力。 有效专利
CN201911401993.2 2019-12-31 C07F3/06 {{ classMap["C07F3/06"] }}
安庆师范大学 查看申请人名下所有专利
安徽省安庆市宜秀区集贤北路1318号
专利分类项目
专利注册信息
初审公告期号 2019-12-31 初审公告日期 2023-04-07
注册公告期号 2023-04-07 注册公告日期 2023-04-07
专用权期限 2023-04-07 - 2033-04-04 专利类型 发明授权
代理组织机构 合肥市浩智运专利代理事务所 查看该机构代理的所有专利
专利介绍
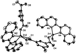
本发明公开一种磺酸类锌金属有机配合物,涉及有机合成技术领域,配合物为8‑氨基喹啉1,5‑萘二磺酸锌金属配合物,8‑氨基喹啉1,5‑萘二磺酸锌金属配合物的化学式为Zn(8‑aql)2(1,5‑nd)·2H2O,本发明还提供上述配合物的制备方法,包括以下步骤:将六水合硝酸锌、叠氮酸钠、1,5‑萘二磺酸钠盐和8‑氨基喹啉在二次去离子水中,于120‑180℃下反应3天,冷却至室温,过滤、洗涤,得到配合物。本发明还提供上述配合物在检测二硫化碳和硝基苯中的应用。本发明的有益效果在于:本发明制得8‑氨基喹啉1,5‑萘二磺酸锌金属配合物既可用于检测环境中低浓度的二硫化碳,也可以用于检测环境中低浓度的硝基苯。
法律进度
  • 2023-09-22 专利权的转移 登记生效日: 2023.09.05 专利权人由龙图腾网科技(合肥)股份有限公司变更为合肥龙之韵医药技术有限公司 ...

  • 2023-09-22 专利权的转移 登记生效日: 2023.09.05 专利权人由安庆师范大学变更为龙图腾网科技(合肥)股份有限公司 地址由246 ...

  • 2023-04-07 授权 ...

  • 2020-05-19 实质审查的生效 IPC(主分类): C07F 3/06 专利申请号: 201911401993.2 申请日: 2019.12. ...

  • 2020-04-24 公开 ...

同类专利
  • 一种手性锌配合物

  • 一种有机-金属薄膜的制备方法

  • 一种有机-金属薄膜的制备方法

  • 一种新型Zn(Ⅱ)金属有机骨架及其合成方法和应用

  • 一种三维的多孔配位聚合物及其制备方法和应用

  • 一种基于ZnⅡ的金属有机骨架及其制备方法和应用

  • 采用静电喷雾法合成金属有机框架材料的方法

  • 一种含锌配合物及制备方法和包含该含锌配合物的塑料助剂

  • 一种锌配合物及其制备方法和应用

  • 一种含锌配合物、含锌复合热稳定剂及其制备方法、应用

  • 一种含混合配体锌(Ⅱ)金属有机配合物及其制备方法和应用

  • 一种高灵敏检测MnO4-的含蒽炔基发光晶体材料的制备方法和产品

咨询该专利

您还可以
推荐专利
{{ v.name }}
取 消 确 定