• 专利申请
    2019-12-30
  • 公布公告
    2024-04-26
  • 授权日期
    2024-04-26
  • 终止
    2034-04-24
一种水下机器人投放回收装置
一种水下机器人投放回收装置
* 专利信息仅供参考,不具有法律效力。 有效专利
CN201911389323.3 2019-12-30 B63B35/00 {{ classMap["B63B35/00"] }}
广东海洋大学 查看申请人名下所有专利
广东省湛江市麻章区海大路1号
专利分类项目
专利注册信息
初审公告期号 2019-12-30 初审公告日期 2024-04-26
注册公告期号 2024-04-26 注册公告日期 2024-04-26
专用权期限 2024-04-26 - 2034-04-24 专利类型 发明授权
代理组织机构 广州粤高专利商标代理有限公司 查看该机构代理的所有专利
专利介绍
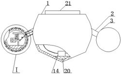
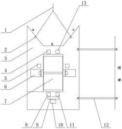
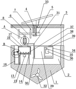
本发明公开了一种水下机器人投放回收装置,包括浮筒和投放回收平台,所述浮筒的尾部设置有喷水驱动装置,所述浮筒的前后两侧分别设置有前置弹簧减震装置和后置液压减震机构,所述投放回收平台通过前置弹簧减震装置和后置液压减震机构与浮筒相连接。该水下机器人投放回收装置,工作人员可通过手动或远程控制的方式调控液压杆、电机和机械爪进行水下机器人的快速投放,显著提高投放效率,节约投放成本,同时采用双体结构和喷水推进动力,行驶稳定,不易晃动,操纵性高,从而使该投放回收装置在使用时更加平稳,保证该投放回收装置作业时的稳定性,采用太阳能外壳的绿色节能设计,在航行时可以为电池进行供电,充分利用清洁能源。
法律进度
  • 2024-04-26 授权 ...

  • 2020-04-17 实质审查的生效 IPC(主分类): B63B 35/00 专利申请号: 201911389323.3 申请日: 2019.12 ...

  • 2020-03-24 公开 ...

同类专利

咨询该专利

您还可以
推荐专利
{{ v.name }}
取 消 确 定