• 专利申请
    2019-12-27
  • 公布公告
    2021-07-20
  • 授权日期
    2021-07-20
  • 终止
    2031-07-18
一种耗能自恢复压力型锚杆的施工方法
一种耗能自恢复压力型锚杆的施工方法
* 专利信息仅供参考,不具有法律效力。 有效专利
CN201911373513.6 2019-12-27 E02D5/74 {{ classMap["E02D5/74"] }}
宁夏大学 查看申请人名下所有专利
宁夏回族自治区银川市西夏区贺兰山西路489号
专利分类项目
专利注册信息
初审公告期号 2019-12-27 初审公告日期 2021-07-20
注册公告期号 2021-07-20 注册公告日期 2021-07-20
专用权期限 2021-07-20 - 2031-07-18 专利类型 发明授权
代理组织机构 北京华智则铭知识产权代理有限公司 查看该机构代理的所有专利
专利介绍
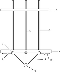
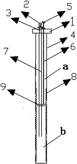
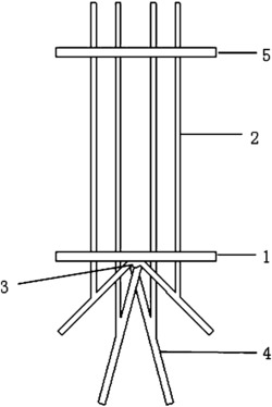
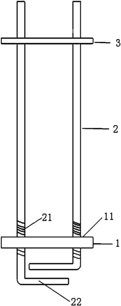
本发明提供一种耗能自恢复压力型锚杆及其施工方法,该压力型锚杆包括锚杆系统和耗能自恢复系统;锚杆系统包括杆体、套管、锚具和垫板;前端由锚具和垫板锚固于挡土结构物上,后端与耗能自恢复系统连接,外围注有浆体。耗能自恢复系统包括液压缸、弹簧、挡板、活塞、活塞杆、粘滞液体、节流孔和承压筒;承压筒与液压缸前端连接,缸内充满粘滞液体;活塞杆一端固定在活塞上,另一端穿过液压缸和承压筒与杆体连接;活塞杆上设挡板,两侧套有弹簧;冲击及往复荷载作用下,弹簧拉压,驱动活塞在液压缸内运动,实现锚杆变形让压耗能及自恢复,耗能减振效果明显。本发明技术简单可行,自恢复系统设在锚杆底部施工方便,外部浆体有良好防护作用。
法律进度
  • 2021-07-20 授权 ...

  • 2020-05-15 实质审查的生效 IPC(主分类): E02D 5/74 专利申请号: 201911373513.6 申请日: 2019.12. ...

  • 2020-04-21 公开 ...

同类专利

咨询该专利

您还可以
推荐专利
{{ v.name }}
取 消 确 定