• 专利申请
    2019-12-05
  • 公布公告
    2020-03-24
  • 授权日期
    2021-04-23
  • 终止
    2030-03-22
一种多角度立体雕刻机
一种多角度立体雕刻机
* 专利信息仅供参考,不具有法律效力。 有效专利
CN201911234418.8 2019-12-05 B44B3/00 {{ classMap["B44B3/00"] }}
浙江广厦建设职业技术学院 查看申请人名下所有专利
浙江省金华市东阳市广福东街1号
专利分类项目
专利注册信息
初审公告期号 2019-12-05 初审公告日期 2020-03-24
注册公告期号 2021-04-23 注册公告日期 2021-04-23
专用权期限 2020-03-24 - 2030-03-22 专利类型 发明公开
代理组织机构 北京君恒知识产权代理有限公司 查看该机构代理的所有专利
专利介绍
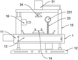
本发明涉及雕刻机,更具体的说是一种多角度立体雕刻机,包括装置支架、装夹支架、装夹机构、雕刻支架Ⅰ、动力机构Ⅰ、雕刻支架Ⅱ、动力机构Ⅱ、雕刻机构、推动机构和定位机构,装夹支架在装置支架上进行滑动,完成两种雕刻摩擦的切换,装夹支架位于雕刻支架Ⅰ侧时,动力机构Ⅰ驱动对应的雕刻机构进行运动,对雕刻物的竖直方向进行雕刻,装夹支架位于雕刻支架Ⅱ时,动力机构Ⅱ驱动对应的雕刻机构进行运动,对雕刻物的水平方向进行雕刻,装夹支架在两种模式之间进行切换时,对应的推动机构完成动力的切断,保留上一次的雕刻位置,提高雕刻精度,定位机构保证装夹支架切换运动位置的准确。
法律进度
  • 2021-04-23 授权 ...

  • 2020-04-17 实质审查的生效 IPC(主分类): B44B 3/00 专利申请号: 201911234418.8 申请日: 2019.12. ...

  • 2020-03-24 公开 ...

同类专利

咨询该专利

您还可以
推荐专利
{{ v.name }}
取 消 确 定