• 专利申请
    2019-11-28
  • 公布公告
    2021-07-13
  • 授权日期
    2021-07-13
  • 终止
    2031-07-11
海洋沙滩净化垃圾清理装置
海洋沙滩净化垃圾清理装置
* 专利信息仅供参考,不具有法律效力。 有效专利
CN201911193803.2 2019-11-28 E01H12/00 {{ classMap["E01H12/00"] }}
烟台大学 查看申请人名下所有专利
山东省烟台市莱山区清泉路30号
专利分类项目
专利注册信息
初审公告期号 2019-11-28 初审公告日期 2021-07-13
注册公告期号 2021-07-13 注册公告日期 2021-07-13
专用权期限 2021-07-13 - 2031-07-11 专利类型 发明授权
代理组织机构 北京国翰知识产权代理事务所 查看该机构代理的所有专利
专利介绍
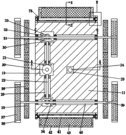
本发明提供一种海洋沙滩净化垃圾清理装置及其使用方法。海洋沙滩净化垃圾清理装置包括:车体,所述车体的下方安装有履带行走机构;液压悬臂,所述液压悬臂与车体连接;送沙机构,所述送沙机构与液压悬臂连接;起沙机构,所述挖沙机构与液压悬臂连接,且起沙机构包括掀沙齿、U型框、固定板、连接块、第一弹簧和深层起沙结构,所述U型框的后端面与液压悬臂固定连接,且U型框的前端面固定连接有多个均匀分布的掀沙齿;所述U型框的后端面还固定连接有固定板,固定板通过第一弹簧与深层起沙结构连接。本发明提供的海洋沙滩净化垃圾清理装置具有沙滩的清理更加彻底且减小清理出来的垃圾表面含沙率的优点。
法律进度
  • 2024-03-26 专利权的转移 登记生效日: 2024.03.08 专利权人由烟台大学变更为合肥龙智机电科技有限公司 国家或地区由中国变更为中 ...

  • 2023-07-14 专利实施许可合同备案的生效 IPC(主分类): E01H 12/00 合同备案号: X2023980036800 专利申请号: 20191 ...

  • 2023-07-14 专利实施许可合同备案的生效 IPC(主分类): E01H 12/00 合同备案号: X2023980036815 专利申请号: 20191 ...

  • 2023-07-14 专利实施许可合同备案的生效 IPC(主分类): E01H 12/00 合同备案号: X2023980036817 专利申请号: 20191 ...

  • 2023-07-14 专利实施许可合同备案的生效 IPC(主分类): E01H 12/00 合同备案号: X2023980036799 专利申请号: 20191 ...

  • 2023-07-14 专利实施许可合同备案的生效 IPC(主分类): E01H 12/00 合同备案号: X2023980036798 专利申请号: 20191 ...

  • 2023-07-14 专利实施许可合同备案的生效 IPC(主分类): E01H 12/00 合同备案号: X2023980036818 专利申请号: 20191 ...

  • 2023-07-14 专利实施许可合同备案的生效 IPC(主分类): E01H 12/00 合同备案号: X2023980036796 专利申请号: 20191 ...

  • 2023-07-14 专利实施许可合同备案的生效 IPC(主分类): E01H 12/00 合同备案号: X2023980036819 专利申请号: 20191 ...

  • 2023-07-11 专利实施许可合同备案的生效 IPC(主分类): E01H 12/00 合同备案号: X2023980036791 专利申请号: 20191 ...

  • 2023-06-30 专利实施许可合同备案的生效 IPC(主分类): E01H 12/00 合同备案号: X2023980036552 专利申请号: 20191 ...

  • 2022-04-05 专利权质押合同登记的注销 IPC(主分类): E01H 12/00 专利号: ZL 201911193803.2 申请日: 2019.1 ...

  • 2021-12-31 专利权质押合同登记的生效 IPC(主分类): E01H 12/00 专利号: ZL 201911193803.2 申请日: 2019.1 ...

  • 2021-07-13 授权 ...

  • 2020-06-05 实质审查的生效 IPC(主分类): E01H 12/00 专利申请号: 201911193803.2 申请日: 2019.11 ...

  • 2020-05-12 公开 ...

同类专利

咨询该专利

您还可以
推荐专利
{{ v.name }}
取 消 确 定