• 专利申请
    2019-10-24
  • 公布公告
    2022-06-10
  • 授权日期
    2022-06-10
  • 终止
    2032-06-07
一种省力型烟株剪断装置
一种省力型烟株剪断装置
* 专利信息仅供参考,不具有法律效力。 有效专利
CN201911016129.0 2019-10-24 A01D34/835 {{ classMap["A01D34/835"] }}
曾训煌 查看申请人名下所有专利
广东省深圳市龙华区龙华街道清湖社区清宁路2号好日子工业园综合办公楼三层
专利分类项目
专利注册信息
初审公告期号 2019-10-24 初审公告日期 2022-06-10
注册公告期号 2022-06-10 注册公告日期 2022-06-10
专用权期限 2022-06-10 - 2032-06-07 专利类型 发明授权
代理组织机构 合肥市科融知识产权代理事务所 查看该机构代理的所有专利
专利介绍
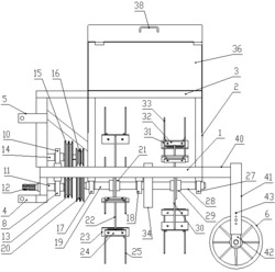
本发明涉及一种剪断装置,尤其涉及一种省力型烟株剪断装置。要解决的技术问题是如何设计一种人工切割时不需要频繁弯腰、降低人力,并且能够在剪断烟株时能够保证使用者安全性的省力型烟株剪断装置。一种省力型烟株剪断装置,包括有底座、行走轮、扶手、移动板、距离调节组件、连接架等;底座底部设有行走轮,底座上设有扶手架,底座上滑动式设有移动板,移动板与底座之间设有距离调节组件,移动板顶部设有连接架。本发明通过距离调节组件来调节切刀切割的部位,调节完切割部位后,通过操作杆来带动切断机构与切刀配合将烟株剪断,如此,操作人员在剪断烟株时就不需要往复弯腰来对烟株进行切割松。
法律进度
  • 2022-06-10 授权 ...

  • 2020-08-07 文件的公告送达 文件的公告送达失败 收件人: 曾训煌 文件名称: 手续合格通知书 ...

  • 2020-07-21 实质审查的生效 IPC(主分类): A01D 34/835 专利申请号: 201911016129.0 申请日: 2019.1 ...

  • 2020-06-26 公开 ...

  • 2020-05-19 文件的公告送达 文件的公告送达失败 收件人: 曾训煌 文件名称: 视为未委托专利代理机构通知书(个人) ...

  • 2020-05-19 文件的公告送达 文件的公告送达失败 收件人: 曾训煌 文件名称: 补正通知书 ...

同类专利

咨询该专利

您还可以
推荐专利
{{ v.name }}
取 消 确 定