• 专利申请
    2019-09-27
  • 公布公告
    2022-06-10
  • 授权日期
    2022-06-10
  • 终止
    2032-06-07
轻型旋耕机
轻型旋耕机
* 专利信息仅供参考,不具有法律效力。 有效专利
CN201910926240.7 2019-09-27 A01B33/10 {{ classMap["A01B33/10"] }}
湖南农业大学; 湖南星索尔航空科技有限公司 查看申请人名下所有专利
湖南省长沙市芙蓉区农大路1号
专利分类项目
专利注册信息
初审公告期号 2019-09-27 初审公告日期 2022-06-10
注册公告期号 2022-06-10 注册公告日期 2022-06-10
专用权期限 2022-06-10 - 2032-06-07 专利类型 发明授权
代理组织机构 长沙朕扬知识产权代理事务所 查看该机构代理的所有专利
专利介绍
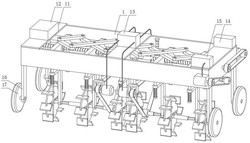
本发明公开了一种轻型旋耕机,所述轻型旋耕机包括前轮、支撑板、两个旋耕轮组、用于驱动并控制所述旋耕轮组动作的驱动控制箱和用于控制旋耕机转向的转向控制装置,所述支撑板的一端与所述前轮连接,支撑板的另一端与所述驱动控制箱连接,所述驱动控制箱包括减速箱,所述减速箱内设有驱动机构和传动机构,两个旋耕轮组分设于减速箱的两侧且均与所述传动机构相连,所述转向控制装置固定于支撑板上且能调节所述前轮的运动方向。本发明具有结构简单紧凑、轻便灵活、操作方便等优点。
法律进度
  • 2022-06-10 授权 ...

  • 2020-02-11 实质审查的生效 IPC(主分类): A01B 33/10 专利申请号: 201910926240.7 申请日: 2019.09 ...

  • 2020-01-14 公开 ...

同类专利

咨询该专利

您还可以
推荐专利
{{ v.name }}
取 消 确 定