• 专利申请
    2019-09-24
  • 公布公告
    2024-03-12
  • 授权日期
    2024-03-12
  • 终止
    2034-03-10
猪蹄分切机
猪蹄分切机
* 专利信息仅供参考,不具有法律效力。 有效专利
CN201910903096.5 2019-09-24 A22C17/00 {{ classMap["A22C17/00"] }}
南京信息职业技术学院 查看申请人名下所有专利
江苏省南京市仙林大学城文澜路99号
专利分类项目
专利注册信息
初审公告期号 2019-09-24 初审公告日期 2024-03-12
注册公告期号 2024-03-12 注册公告日期 2024-03-12
专用权期限 2024-03-12 - 2034-03-10 专利类型 发明授权
代理组织机构 南京天翼专利代理有限责任公司 查看该机构代理的所有专利
专利介绍
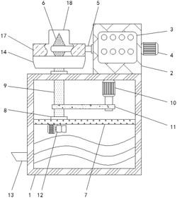
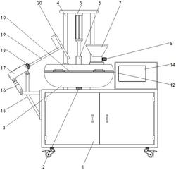
本发明公开了一种猪蹄分切机,包括横向切断机构、纵向切断机构、驱动机构、台面板、落料阀门机构和机架,机架置于地面之上,台面板平铺在机架顶上,纵向切断机构安装于台面板上,台面板上在纵向切断机构切割后的猪蹄排出方向正前方开设猪蹄落料口,落料阀门机构装于台面板正反面用于打开或关闭猪蹄落料口;横向切断机构装在机架且位于猪蹄落料口的下方对纵切后的猪蹄进行横向切块,驱动机构装在机架上用于给横向切断机构和纵向切断机构提供动力。优点,本猪蹄分切机,由一台电机驱动,结构简单;猪蹄在推杆推动下沿导向装置进给剖切,操作安全。
法律进度
  • 2024-03-12 授权 ...

  • 2020-01-07 实质审查的生效 IPC(主分类): A22C 17/00 专利申请号: 201910903096.5 申请日: 2019.09 ...

  • 2019-12-13 公开 ...

同类专利

咨询该专利

您还可以
推荐专利
{{ v.name }}
取 消 确 定