• 专利申请
    2019-09-19
  • 公布公告
    2021-08-06
  • 授权日期
    2021-08-06
  • 终止
    2031-08-04
一种干衣装置
一种干衣装置
* 专利信息仅供参考,不具有法律效力。 有效专利
CN201910888310.4 2019-09-19 D06F58/10 {{ classMap["D06F58/10"] }}
温州职业技术学院 查看申请人名下所有专利
浙江省温州市瓯海经济开发区东方南路38号温州市国家大学科技园孵化器1号楼
专利分类项目
专利注册信息
初审公告期号 2019-09-19 初审公告日期 2021-08-06
注册公告期号 2021-08-06 注册公告日期 2021-08-06
专用权期限 2021-08-06 - 2031-08-04 专利类型 发明授权
代理组织机构 北京阳光天下知识产权代理事务所 查看该机构代理的所有专利
专利介绍
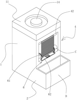
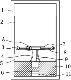
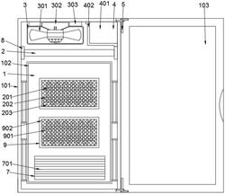
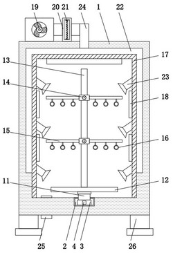
本申请提供了一种干衣装置,其中,包括:底座、设置在所述底座上的筒体、设置在所述筒体内的晾衣装置、以及设置在所述筒体上侧的烘干装置,所述烘干装置包括风机和发热装置,所述风机为所述筒体内输送空气,所述发热装置将所述风机输送的空气加热,所述底座内设置有带动所述晾衣装置旋转的转动装置,所述晾衣装置包括空心柱和分别设置在所述空心柱两侧的两个支撑调节架,所述支撑调节架的下端连接有挂衣架。本申请提供的干衣装置,可以确保衣物均匀的接触热空气,提高烘干效率,并且能够抚平衣物上的皱折,防止产生新的褶皱。
法律进度
  • 2024-10-15 专利权的转移 登记生效日: 2024.09.25 专利权人由温州职业技术学院变更为合肥智慧龙机械设计有限公司 国家或地区由中 ...

  • 2021-08-06 授权 ...

  • 2020-01-24 实质审查的生效 IPC(主分类): D06F 58/10 专利申请号: 201910888310.4 申请日: 2019.09 ...

  • 2019-12-31 公开 ...

同类专利

咨询该专利

您还可以
推荐专利
{{ v.name }}
取 消 确 定