• 专利申请
    2019-09-17
  • 公布公告
    2020-11-03
  • 授权日期
    2020-11-03
  • 终止
    2030-11-01
一种缓冲型家居柜门结构
一种缓冲型家居柜门结构
* 专利信息仅供参考,不具有法律效力。 有效专利
CN201910873713.1 2019-09-17 E06B3/46 {{ classMap["E06B3/46"] }}
安徽钜将家具制造有限公司 查看申请人名下所有专利
安徽省亳州市涡阳县工业园B区(华都大道与星园路交叉路口)
专利分类项目
专利注册信息
初审公告期号 2019-09-17 初审公告日期 2020-11-03
注册公告期号 2020-11-03 注册公告日期 2020-11-03
专用权期限 2020-11-03 - 2030-11-01 专利类型 发明授权
代理组织机构 --
专利介绍
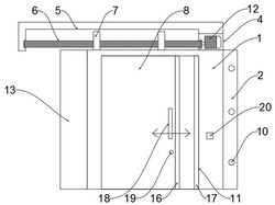
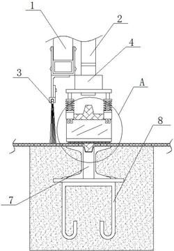
本发明公开了一种缓冲型家居柜门结构,包括柜门框与两个推拉门,所述柜门框左右两侧均设有第一安装槽,所述柜门框上部设有第二安装槽,所述第一安装槽与第二安装槽连通,所述第一安装槽与第二安装槽内共同设有两个第一缓冲机构,所述第一缓冲机构包括齿筒,所述齿筒通过第一转轴与第二安装槽两侧壁转动连接,所述第一安装槽内部设有两个第一磁铁,两个所述第一磁铁均通过第二转轴与第一安装槽内壁转动连接。本发明在使用时不会产生很大的噪音,提高了使用者使用时的舒适度,也不会影响到其他人的休息,该装置还能防止推拉门与柜门框产生猛烈的撞击,保护了推拉门和柜门框。
法律进度
  • 2024-04-19 专利实施许可合同备案的生效 IPC(主分类): E06B 3/46 专利号: ZL 201910873713.1 申请日: 2019.09 ...

  • 2020-11-03 授权 ...

  • 2020-10-20 专利申请权的转移 登记生效日: 2020.09.25 申请人由朱梦青变更为安徽钜将家具制造有限公司 地址由211100 江苏省南 ...

  • 2019-12-27 实质审查的生效 IPC(主分类): E06B 3/46 专利申请号: 201910873713.1 申请日: 2019.09. ...

  • 2019-12-03 公开 ...

同类专利

咨询该专利

您还可以
推荐专利
{{ v.name }}
取 消 确 定