• 专利申请
    2017-09-19
  • 公布公告
    2021-04-02
  • 授权日期
    2021-04-02
  • 终止
    2031-03-31
直落式多组份物料下料装置控制器
直落式多组份物料下料装置控制器
* 专利信息仅供参考,不具有法律效力。 有效专利
CN201910845716.4 2017-09-19 B65B1/32 {{ classMap["B65B1/32"] }}
中国计量大学 查看申请人名下所有专利
浙江省杭州市下沙高教园区学源街258号
专利分类项目
专利注册信息
初审公告期号 2017-09-19 初审公告日期 2021-04-02
注册公告期号 2021-04-02 注册公告日期 2021-04-02
专用权期限 2021-04-02 - 2031-03-31 专利类型 发明授权
代理组织机构 --
专利介绍
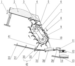
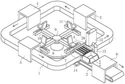
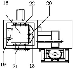
本发明公开了直落式多组份物料下料装置控制器,包括输入模块、存储模块、输出模块和处理模块,处理模块基于当前和累积下料误差,对下料阀进行迭代预测控制,使得各下料阀轮流下料,在混料斗中将物料混合均匀。本发明基于距离传感器和称重模块的检测,通过搅拌器对下料仓内的物料堆积进行调节以保证落料形态稳定,从而为迭代预测提供了条件。与现有技术相比,本发明使得下料装置在迭代学习过程中的落料能被有效利用,防止了物料的浪费,并且可应用于小批量快速配料。
法律进度
  • 2021-04-02 授权 ...

  • 2020-02-18 实质审查的生效 IPC(主分类): B65B 1/32 专利申请号: 201910845716.4 申请日: 2017.09. ...

  • 2020-01-17 公开 ...

同类专利

咨询该专利

您还可以
推荐专利
{{ v.name }}
取 消 确 定