• 专利申请
    2019-09-06
  • 公布公告
    2020-04-07
  • 授权日期
    2020-04-07
  • 终止
    2030-04-05
一种烟叶快速冷却处理系统
一种烟叶快速冷却处理系统
* 专利信息仅供参考,不具有法律效力。 有效专利
CN201910843417.7 2019-09-06 A24B3/10 {{ classMap["A24B3/10"] }}
三门宣教机械设备有限公司 查看申请人名下所有专利
浙江省台州市三门县亭旁镇亭旁街51号2楼
专利分类项目
专利注册信息
初审公告期号 2019-09-06 初审公告日期 2020-04-07
注册公告期号 2020-04-07 注册公告日期 2020-04-07
专用权期限 2020-04-07 - 2030-04-05 专利类型 发明授权
代理组织机构 --
专利介绍
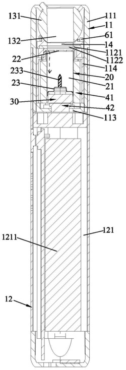
本发明公开了一种烟叶快速冷却处理系统,包括底座以及前后对称固定设置于所述底座上端面的支撑板,所述支撑板上端固定设有固定板,前后所述固定板之间固定设有料斗,所述料斗中设有向上开口的储料腔,所述料斗下端固定设有进料管,烟叶薄片在本发明中冷却腔后,冷却腔内壁中通入液氮,本发明对烟叶薄片进行分批,使烟叶薄片与冷却腔的内壁接触面积更大,并对烟叶施加振动,使烟叶不断变化位置,使烟叶的每个位置基本都能与冷却腔内壁接触,实现对烟叶薄片的快速降温冷却。
法律进度
  • 2020-04-07 授权 ...

  • 2019-12-17 实质审查的生效 IPC(主分类): A24B 3/10 专利申请号: 201910843417.7 申请日: 2019.09. ...

  • 2019-11-19 公开 ...

同类专利

咨询该专利

您还可以
推荐专利
{{ v.name }}
取 消 确 定