• 专利申请
    2017-09-19
  • 公布公告
    2021-07-02
  • 授权日期
    2021-07-02
  • 终止
    2031-06-30
基于神经网络的直落失重式物料下料机控制器
基于神经网络的直落失重式物料下料机控制器
* 专利信息仅供参考,不具有法律效力。 有效专利
CN201910836277.0 2017-09-19 B65G65/00 {{ classMap["B65G65/00"] }}
中国计量大学 查看申请人名下所有专利
浙江省杭州市下沙高教园区学源街258号
专利分类项目
专利注册信息
初审公告期号 2017-09-19 初审公告日期 2021-07-02
注册公告期号 2021-07-02 注册公告日期 2021-07-02
专用权期限 2021-07-02 - 2031-06-30 专利类型 发明授权
代理组织机构 --
专利介绍
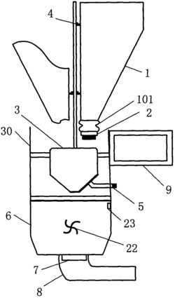
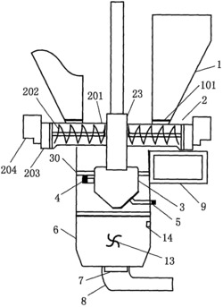
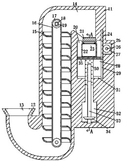
本发明公开了基于神经网络的直落失重式物料下料机控制器,其包括信号采集模块、处理模块、神经网络模块、存储模块和输出模块。神经网络模块基于下料仓的料位、落料率、物料密度及下料阀开口孔径对物料失重值进行预测,从而对下料阀的关闭时间进行调节。基于神经网络对下料中的称重行为进行建模,本发明训练后的网络能对不同落料状态下的下落物料失重值进行准确预测,从而可实现直接精确下料控制且适用于小批量生产;还结合仓位传感器的检测和搅拌器的控制对下料仓内的物料堆积形态进行调节,减小了落料率波动;又通过对下料累积误差的控制,减小了批量下料的总误差。
法律进度
  • 2021-07-02 授权 ...

  • 2020-02-18 实质审查的生效 IPC(主分类): B65G 65/00 专利申请号: 201910836277.0 申请日: 2017.09 ...

  • 2020-01-17 公开 ...

同类专利

咨询该专利

您还可以
推荐专利
{{ v.name }}
取 消 确 定