• 专利申请
    2019-08-23
  • 公布公告
    2019-11-15
  • 授权日期
    2021-07-23
  • 终止
    2029-11-12
井口返出液回收操作台
井口返出液回收操作台
* 专利信息仅供参考,不具有法律效力。 有效专利
CN201910781485.5 2019-08-23 E21B41/00 {{ classMap["E21B41/00"] }}
李国龙 查看申请人名下所有专利
黑龙江省大庆市让胡路区东湖街东湖小区730号1门401室
专利分类项目
专利注册信息
初审公告期号 2019-08-23 初审公告日期 2019-11-15
注册公告期号 2021-07-23 注册公告日期 2021-07-23
专用权期限 2019-11-15 - 2029-11-12 专利类型 发明公开
代理组织机构 哈尔滨市邦杰专利代理事务所 查看该机构代理的所有专利
专利介绍
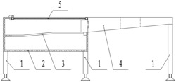
本发明属于井下施工作业辅助装置领域,尤其涉及一种井口返出液回收操作台,包括上侧敞口的长方形箱体和上侧敞口的导流斜槽,导流斜槽的最低处与长方形箱体衔接,从而将液体引导至长方形箱体内,导流斜槽的中央设置有用于容纳井口套管的圆孔,长方形箱体和导流斜槽的顶部均设置有供人员站立的格网,长方形箱体和导流斜槽的底部均设置有可升降调节的支腿,所述导流斜槽的低端从长方形箱体的侧面插入长方形箱体内,并可在导轨作用下沿长方形箱体内壁左右滑动。本发明将导流斜槽设计成可收纳在长方形箱体内的可伸缩结构,将井口返出液回收操作台的体积缩减至接近原来的二分之一,从而大幅提高了设备运输的便捷性。
法律进度
  • 2024-11-05 专利权的转移 登记生效日: 2024.10.18 专利权人由李国龙变更为吉木萨尔县昆仑天泽新能源有限责任公司 国家或地区由中 ...

  • 2021-07-23 授权 ...

  • 2019-12-10 实质审查的生效 IPC(主分类): E21B 41/00 专利申请号: 201910781485.5 申请日: 2019.08 ...

  • 2019-11-15 公开 ...

同类专利

咨询该专利

您还可以
推荐专利
{{ v.name }}
取 消 确 定