• 专利申请
    2019-07-25
  • 公布公告
    2021-12-14
  • 授权日期
    2021-12-14
  • 终止
    2031-12-12
油气回收处理系统
油气回收处理系统
* 专利信息仅供参考,不具有法律效力。 有效专利
CN201910677273.2 2019-07-25 B01D53/04 {{ classMap["B01D53/04"] }}
河北科容油站设备有限公司 查看申请人名下所有专利
河北省衡水市冀州区建设街西侧、永泰路南侧
专利分类项目
专利注册信息
初审公告期号 2019-07-25 初审公告日期 2021-12-14
注册公告期号 2021-12-14 注册公告日期 2021-12-14
专用权期限 2021-12-14 - 2031-12-12 专利类型 发明授权
代理组织机构 石家庄国为知识产权事务所 查看该机构代理的所有专利
专利介绍
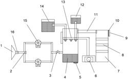
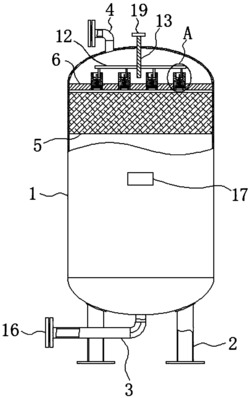
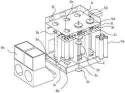
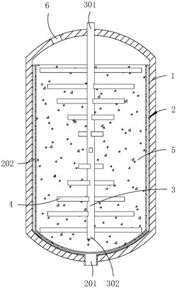
本发明提供了一种油气回收处理系统,属于化工设备技术领域,油气回收处理系统包括:罐体、进气皿、解析杆和控制开关组;罐体开设有出气口;进气皿,皿壁内开设有进气腔,内壁上开设有多个与进气腔连通的油气孔,底部开设有与进气腔连通的进气口,且皿槽内放置有活性炭层;解析杆一端为敞开端,另一端封闭端,且封闭端延伸至进气皿的底部,解析杆的长度方向上贯通固接有多个排气杆,排气杆向进气皿延伸且开设有多个解析孔;控制开关组用于控制出气口和敞开端打开或关闭。本发明提供的油气回收处理系统,增大了油气与活性炭层的接触面积,并且可以对活性炭层进行多方位的解析,从而提高了吸附和解析的效率。
法律进度
  • 2024-08-09 专利权的转移 登记生效日: 2024.07.25 专利权人由刘军晖变更为河南三绅电子科技有限公司 国家或地区由中国变更为中国 ...

  • 2024-07-05 专利权的转移 登记生效日: 2024.06.20 专利权人由杨守伟变更为刘军晖 国家或地区由中国变更为中国 地址由47620 ...

  • 2024-06-04 专利权的转移 登记生效日: 2024.05.20 专利权人由河北科容油站设备有限公司变更为杨守伟 国家或地区由中国变更为中国 ...

  • 2021-12-14 授权 ...

  • 2019-11-01 实质审查的生效 IPC(主分类): B01D 53/04 专利申请号: 201910677273.2 申请日: 2019.07 ...

  • 2019-10-01 公开 ...

同类专利

咨询该专利

您还可以
推荐专利
{{ v.name }}
取 消 确 定