• 专利申请
    2019-07-25
  • 公布公告
    2021-08-24
  • 授权日期
    2021-08-24
  • 终止
    2031-08-22
一种电磁排水抗滑桩及其施工方法
一种电磁排水抗滑桩及其施工方法
* 专利信息仅供参考,不具有法律效力。 有效专利
CN201910675691.8 2019-07-25 E02D17/20 {{ classMap["E02D17/20"] }}
宁夏大学 查看申请人名下所有专利
宁夏回族自治区银川市西夏区贺兰山西路489号
专利分类项目
专利注册信息
初审公告期号 2019-07-25 初审公告日期 2021-08-24
注册公告期号 2021-08-24 注册公告日期 2021-08-24
专用权期限 2021-08-24 - 2031-08-22 专利类型 发明授权
代理组织机构 北京华智则铭知识产权代理有限公司 查看该机构代理的所有专利
专利介绍
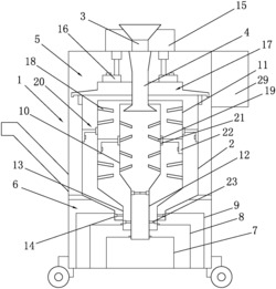
本申请提供一种电磁排水抗滑桩及其施工方法,属于滑坡防治工程领域,该抗滑桩包括:空心桩、碎石、锚索、线圈、控制器、水分计、抽水管和手提抽水泵;第二类空心桩同轴嵌套于第一类空心桩内,两类桩之间填充碎石,锚索将碎石挤密于第一类空心桩内;圈缠绕抽水管外壁并嵌套于第二类空心桩内,手提抽水泵安装在抽水管顶端,控制器安放在坡外分别与水分计、线圈和高频交流电源连接;当土体含水率大于界限含水率时,线圈产生交变磁场促使水分进入空心桩内,抽水管和手提抽水泵将坡体内水排到坡外;反之线圈断电;本申请是一种实施监控、快速排水的抗滑桩,解决了降雨丰富地区低渗透性边坡难以排水诱发的失稳问题,构造简单,施工容易,大大节约成本。
法律进度
  • 2021-08-24 授权 ...

  • 2019-12-03 实质审查的生效 IPC(主分类): E02D 17/20 专利申请号: 201910675691.8 申请日: 2019.07 ...

  • 2019-11-08 公开 ...

同类专利

咨询该专利

您还可以
推荐专利
{{ v.name }}
取 消 确 定