• 专利申请
    2019-07-19
  • 公布公告
    2022-04-08
  • 授权日期
    2022-04-08
  • 终止
    2032-04-05
利用磁流体模拟可视化裂隙渗流的装置及方法
利用磁流体模拟可视化裂隙渗流的装置及方法
* 专利信息仅供参考,不具有法律效力。 有效专利
CN201910655846.1 2019-07-19 G01N15/08 {{ classMap["G01N15/08"] }}
三峡大学 查看申请人名下所有专利
湖北省宜昌市西陵区大学路8号
专利分类项目
专利注册信息
初审公告期号 2019-07-19 初审公告日期 2022-04-08
注册公告期号 2022-04-08 注册公告日期 2022-04-08
专用权期限 2022-04-08 - 2032-04-05 专利类型 发明授权
代理组织机构 宜昌市三峡专利事务所 查看该机构代理的所有专利
专利介绍
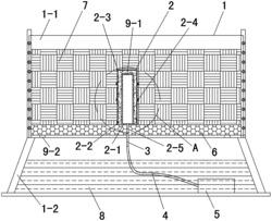
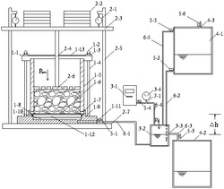
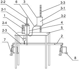
一种利用磁流体模拟可视化裂隙渗流的装置,包括主体框架,安装于主体框架内的摄像机通过主体框架上的顶部万向球铰与可移动副框架连接,可视化岩样通过膨胀加压气垫放置于剪切反力架上表面,可视化岩样由上盖板透明树脂和普通岩样组成,上盖板透明树脂和普通岩样之间形成一条裂缝,可视化岩样两侧面各通过液压杆加载装置与剪切反力架的内侧壁连接,液压杆加载装置设有应力传感器和位移传感器,注浆/水装置的注浆/水管与上盖板透明树脂和普通岩样之间的裂缝相配合。本发明提供的利用磁流体模拟可视化裂隙渗流的装置及方法,利用磁流体模拟空间多角度不同围压、侧向力条件下裂隙渗流情况,研究各种情况下的渗流规律。
法律进度
  • 2023-12-01 专利权的转移 登记生效日: 2023.11.14 专利权人由三峡大学变更为龙图腾网科技(合肥)股份有限公司 地址由44300 ...

  • 2023-12-01 专利权的转移 登记生效日: 2023.11.14 专利权人由龙图腾网科技(合肥)股份有限公司变更为合肥九州龙腾科技成果转化有 ...

  • 2022-04-08 授权 ...

  • 2019-11-01 实质审查的生效 IPC(主分类): G01N 15/08 专利申请号: 201910655846.1 申请日: 2019.07 ...

  • 2019-10-01 公开 ...

同类专利
  • 沥青混合料空隙体积提取精度测试方法

  • 一种垃圾土的压缩与渗透关系测定仪

  • 一种大型垃圾土渗透系数测试仪

  • 大尺寸城市固废骨架和孔隙水体积变化系数测量装置

  • 荷载作用混凝土孔结构演化原位监测方法与试验装置

  • 非接触式阻抗法测定混凝土连通孔隙率的方法与试验装置

  • 一种大型垃圾土垂直渗透系数测试仪

  • 一种承压水渗流作用下矿井陷落柱突水防冲刷试验装置及方法

  • 便携式多深度渗透系数现场测量装置

  • 一种土壤水分入渗率测试装置

  • 一种透水混凝土切面孔隙特征检测装置及其使用方法

  • 一种横向毗邻异性非饱和土降雨入渗演示装置及方法

咨询该专利

您还可以
推荐专利
{{ v.name }}
取 消 确 定