• 专利申请
    2019-05-20
  • 公布公告
    2023-12-12
  • 授权日期
    2023-12-12
  • 终止
    2033-12-09
一种催化剂浸渍干燥连续生产装置
一种催化剂浸渍干燥连续生产装置
* 专利信息仅供参考,不具有法律效力。 有效专利
CN201910422785.4 2019-05-20 F26B1/00 {{ classMap["F26B1/00"] }}
江苏建筑职业技术学院 查看申请人名下所有专利
江苏省徐州市泉山区学苑路26号
专利分类项目
专利注册信息
初审公告期号 2019-05-20 初审公告日期 2023-12-12
注册公告期号 2023-12-12 注册公告日期 2023-12-12
专用权期限 2023-12-12 - 2033-12-09 专利类型 发明授权
代理组织机构 苏州拓鸿知识产权代理有限公司 查看该机构代理的所有专利
专利介绍
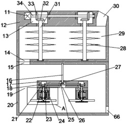
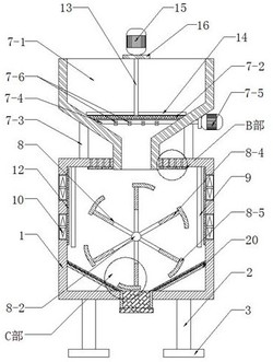
本发明公开了一种催化剂浸渍干燥连续生产装置,本发明采用喷射的方式对处于悬浮运动中的催化剂载体进行浸渍,可提高浸渍效率,保证浸渍的均匀度,方便后续的干燥处理,可实现连续生产,本发明干燥时,利用初加热段、冷凝去湿干燥段直接的温度差,以冷凝的方式实现部分干燥,然后再利用顶部的后加热干燥段实现彻底干燥,干燥效率高,便于活性成分充分在载体内外凝结,便于后续焙烧时催化剂活性成分可靠性;该设计可实现催化剂生产过程中浸渍工序和干燥工序连续化,操作简便,催化剂浸渍工序和干燥工序之间无需转运催化剂,降低工人的劳动强度,且提高催化剂制备的自动化水平,进而提高生产效率。
法律进度
  • 2024-07-05 专利权的转移 登记生效日: 2024.06.19 专利权人由江苏建筑职业技术学院变更为合肥净龙环保科技有限公司 国家或地区由 ...

  • 2023-12-12 授权 ...

  • 2019-08-16 实质审查的生效 IPC(主分类): F26B 1/00 专利申请号: 201910422785.4 申请日: 2019.05. ...

  • 2019-07-23 公开 ...

同类专利

咨询该专利

您还可以
推荐专利
{{ v.name }}
取 消 确 定