• 专利申请
    2019-05-07
  • 公布公告
    2021-07-20
  • 授权日期
    2021-07-20
  • 终止
    2031-07-18
一种消除空气层的递送式层压装置及层压系统
一种消除空气层的递送式层压装置及层压系统
* 专利信息仅供参考,不具有法律效力。 有效专利
CN201910377048.7 2019-05-07 B32B37/10 {{ classMap["B32B37/10"] }}
安徽机电职业技术学院 查看申请人名下所有专利
安徽省芜湖市弋江区文津西路
专利分类项目
专利注册信息
初审公告期号 2019-05-07 初审公告日期 2021-07-20
注册公告期号 2021-07-20 注册公告日期 2021-07-20
专用权期限 2021-07-20 - 2031-07-18 专利类型 发明授权
代理组织机构 合肥维可专利代理事务所 查看该机构代理的所有专利
专利介绍
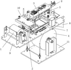
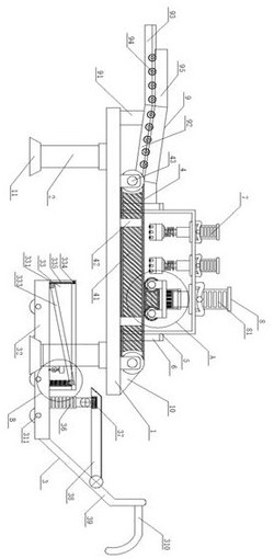
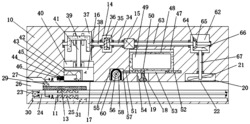
本发明公开了一种消除空气层的递送式层压装置及层压系统,包括:压板和面板,还包括:接纳压板和面板以进行层压并形成层压成品的层压机;传送所述压板、面板以及层压成品的传送单元;将传送单元上的压板、面板向所述层压机内输入的递送单元;所述递送单元还将所述层压机内的层压成品输出至传送单元上;递送单元可直接通过绕转动轴线的转动,以使递送槽口、递出槽口依次与层压机连通,以形成流水线式的生产线,缩短工作环节时间;采用内部递送的传递方式进行作业,以使层压机始终与外界的空气保持相对的隔绝,以使层压机内保持相对静态的状态,所以其内的空气流动速率低,利于层压的进行。
法律进度
  • 2024-08-02 专利权的转移 登记生效日: 2024.07.17 专利权人由安徽机电职业技术学院变更为合肥智慧龙机械设计有限公司 国家或地区 ...

  • 2021-07-20 授权 ...

  • 2019-08-16 实质审查的生效 IPC(主分类): B32B 37/10 专利申请号: 201910377048.7 申请日: 2019.05 ...

  • 2019-07-23 公开 ...

同类专利

咨询该专利

您还可以
推荐专利
{{ v.name }}
取 消 确 定