• 专利申请
    2019-04-25
  • 公布公告
    2021-04-13
  • 授权日期
    2021-04-13
  • 终止
    2031-04-11
一种交替式小型混凝土泵
一种交替式小型混凝土泵
* 专利信息仅供参考,不具有法律效力。 有效专利
CN201910336236.5 2019-04-25 F04B15/02 {{ classMap["F04B15/02"] }}
泰州市津专知识产权服务有限公司 查看申请人名下所有专利
江苏省泰州市高港区科创园创业大道北侧
专利分类项目
专利注册信息
初审公告期号 2019-04-25 初审公告日期 2021-04-13
注册公告期号 2021-04-13 注册公告日期 2021-04-13
专用权期限 2021-04-13 - 2031-04-11 专利类型 发明授权
代理组织机构 --
专利介绍
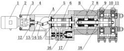
本发明提供了一种交替式小型混凝土泵,其包括用于将混凝土加压泵送至浇注处的交替泵送装置、动力驱动装置以及回撤复位装置,交替泵送装置包括泵送机构与切换机构,泵送机构包括左右对称布置的两活塞泵与一个活动布置的对接导管,切换机构用于自动切换对接导管与两活塞泵输出端交替对接接通,活塞泵可在待灌浆状态与满载待泵射状态之间交替切换,并且对接导管始终切换至与待泵射状态的活塞泵对接接通,动力驱动装置设置有两个并且与活塞泵一一对应布置,动力驱动装置用于对活塞泵与切换机构提供动力。
法律进度
  • 2023-07-14 专利权的转移 登记生效日: 2023.07.04 专利权人由泰州市津专知识产权服务有限公司变更为临沂市冠蒙金德新型建材有限公 ...

  • 2021-04-13 授权 ...

  • 2021-03-30 专利申请权的转移 登记生效日: 2021.03.18 申请人由张家霞变更为泰州市津专知识产权服务有限公司 地址由230031 安 ...

  • 2019-08-23 实质审查的生效 IPC(主分类): F04B 15/02 专利申请号: 201910336236.5 申请日: 2019.04 ...

  • 2019-07-30 公开 ...

同类专利

咨询该专利

您还可以
推荐专利
{{ v.name }}
取 消 确 定