• 专利申请
    2019-04-15
  • 公布公告
    2020-04-07
  • 授权日期
    2020-04-07
  • 终止
    2030-04-05
一种负载情况下电缆接头温度检测和故障处理装置及方法
一种负载情况下电缆接头温度检测和故障处理装置及方法
* 专利信息仅供参考,不具有法律效力。 有效专利
CN201910298720.3 2019-04-15 G01K1/02 {{ classMap["G01K1/02"] }}
西南交通大学 查看申请人名下所有专利
四川省成都市高新区西部园区西南交通大学科学技术发展研究院
专利分类项目
专利注册信息
初审公告期号 2019-04-15 初审公告日期 2020-04-07
注册公告期号 2020-04-07 注册公告日期 2020-04-07
专用权期限 2020-04-07 - 2030-04-05 专利类型 发明授权
代理组织机构 成都盈信专利代理事务所 查看该机构代理的所有专利
专利介绍
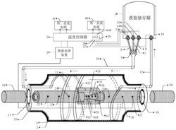
本发明公开了一种负载情况下电缆接头温度检测和故障处理装置及方法,用于在电缆接头温度异常升高时对其温度进行冷却。温度检测和故障处理装置包括液氮储存罐、温度控制器、数据处理装置、内壁为聚四氟乙烯绝缘层的不锈钢罐体和铝合金导流外管道等。数据处理装置通过计算温度传感器采集数据的离散系数,并与温度控制器中设定阈值进行比较,从而进行相应故障处理。本发明的有益效果在于,能够对由于电力系统异常而导致的电缆接头温度异常升高进行检测和故障处理,保障电缆供电的可靠性,降低电缆因温度升高爆炸的故障率。
法律进度
  • 2024-10-25 专利权的转移 登记生效日: 2024.10.10 专利权人由西南交通大学变更为合肥名龙电子科技有限公司 国家或地区由中国变更 ...

  • 2020-04-07 授权 ...

  • 2019-08-16 实质审查的生效 IPC(主分类): G01K 1/02 专利申请号: 201910298720.3 申请日: 2019.04. ...

  • 2019-07-23 公开 ...

同类专利

咨询该专利

您还可以
推荐专利
{{ v.name }}
取 消 确 定