• 专利申请
    2019-04-08
  • 公布公告
    2021-07-27
  • 授权日期
    2021-07-27
  • 终止
    2031-07-25
一种利用膨胀剂测试孔间岩桥抗拉抗压蠕变的装置及方法
一种利用膨胀剂测试孔间岩桥抗拉抗压蠕变的装置及方法
* 专利信息仅供参考,不具有法律效力。 有效专利
CN201910277542.6 2019-04-08 G01N3/02 {{ classMap["G01N3/02"] }}
三峡大学 查看申请人名下所有专利
湖北省宜昌市西陵区大学路8号
专利分类项目
专利注册信息
初审公告期号 2019-04-08 初审公告日期 2021-07-27
注册公告期号 2021-07-27 注册公告日期 2021-07-27
专用权期限 2021-07-27 - 2031-07-25 专利类型 发明授权
代理组织机构 宜昌市三峡专利事务所 查看该机构代理的所有专利
专利介绍
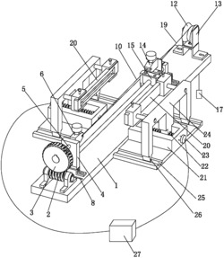
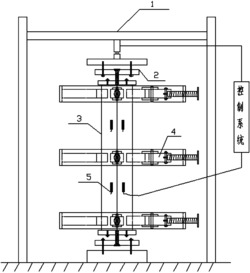
本发明公开了一种利用膨胀剂测试孔间岩桥抗拉抗压蠕变的装置及方法,它包括用于试验的岩样,在岩样的内部加工有多个小孔,所述小孔的内部填充有膨胀剂;相邻两个所述小孔之间形成岩桥,在岩桥的不同区域布设有用于测量岩桥所受应力的分布式光纤、透明网格纸或应力监测点;所述小孔的内部,在靠近岩桥的两侧放置有钢板,两块相邻的钢板之间用钢筋相连。该方法可事实监测测得各项力学参数,实时对岩样受力情况及时反馈,且此方法操作简单、成本低、结构简单,可应用于对各种形状大小岩样的抗拉抗压模量的检测,具有广泛的工程实践意义及应用前景。
法律进度
  • 2024-08-13 专利权的转移 登记生效日: 2024.07.26 专利权人由三峡大学变更为合肥智慧龙机械设计有限公司 国家或地区由中国变更为 ...

  • 2023-08-08 专利实施许可合同备案的注销 合同备案号: X2023980031470 让与人: 三峡大学 受让人: 鸿创(宜昌)建筑设计有限责任公司 解 ...

  • 2023-02-07 专利实施许可合同备案的生效 IPC(主分类): G01N 3/02 合同备案号: X2023980031470 专利申请号: 201910 ...

  • 2021-07-27 授权 ...

  • 2019-08-16 实质审查的生效 IPC(主分类): G01N 3/02 专利申请号: 201910277542.6 申请日: 2019.04. ...

  • 2019-07-23 公开 ...

同类专利
  • 具备原位观测和连续测试功能的便携式压入测试系统

  • 一种用于直剪实验的温控剪切盒装置及操作方法

  • 岩石流变扰动效应仪冲击扰动系统

  • 一种单根碳纤维丝束扭转、张紧及放入模具装置

  • 用于冲击试验的冲击波时间标定装置及时间标定方法

  • 一种使混凝土产生均匀受拉损伤的装置

  • 一种单根碳纤维丝束扭转、张紧及放入模具装置

  • 一种用于路面加速加载实验的浮动靴锁垫式测力支腿

  • 一种软板弯折疲劳测试装置

  • 一种用于调节便携式微米压入仪作动杆垂直度的装置

  • 一种混凝土钻孔机的固定底座及试验装置

  • 一种塑料管材受压力检测设备

咨询该专利

您还可以
推荐专利
{{ v.name }}
取 消 确 定