• 专利申请
    2019-03-26
  • 公布公告
    2020-08-28
  • 授权日期
    2020-08-28
  • 终止
    2030-08-26
一种黑板教学辅助系统
一种黑板教学辅助系统
* 专利信息仅供参考,不具有法律效力。 有效专利
CN201910230879.1 2019-03-26 B43L1/04 {{ classMap["B43L1/04"] }}
徐州工业职业技术学院 查看申请人名下所有专利
江苏省徐州市鼓楼区襄王路1号
专利分类项目
专利注册信息
初审公告期号 2019-03-26 初审公告日期 2020-08-28
注册公告期号 2020-08-28 注册公告日期 2020-08-28
专用权期限 2020-08-28 - 2030-08-26 专利类型 发明授权
代理组织机构 北京中南长风知识产权代理事务所 查看该机构代理的所有专利
专利介绍
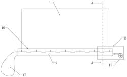
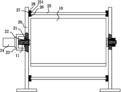
本发明公开了黑板教学技术领域的一种黑板教学辅助系统,包括手持绘图器、绘图机构、两个摄像头、两个一字激光投影仪、计算设备和黑板,手持绘图器包括安装在手持绘图器内部的控制电路板和驱动手持绘图器在黑板行走的传动机构,绘图机构组装与手持绘图器的底部,两个摄像头和一字激光投影仪分别安装于黑板的两端,计算设备与控制电路板通过两组无线信号收发器无线连接,计算设备分别与摄像头和一字激光投影仪电性连接,计算设备用于对接收摄像头和一字激光投影仪探测计算设备的位置信息进行处理,并控制计算设备在黑板上进行图形绘制,快速的移动绘图,减少老师的绘图时间,绘图更方便,准确。
法律进度
  • 2023-01-10 专利权的转移 登记生效日: 2022.12.29 专利权人由徐州工业职业技术学院变更为山西宁志科技有限公司 地址由22100 ...

  • 2020-08-28 授权 ...

  • 2019-07-16 实质审查的生效 IPC(主分类): B43L 1/04 专利申请号: 201910230879.1 申请日: 2019.03. ...

  • 2019-06-21 公开 ...

同类专利

咨询该专利

您还可以
推荐专利
{{ v.name }}
取 消 确 定