• 专利申请
    2019-03-25
  • 公布公告
    2020-12-25
  • 授权日期
    2020-12-25
  • 终止
    2030-12-23
一种复合电极与制备及在电场检测中的应用
一种复合电极与制备及在电场检测中的应用
* 专利信息仅供参考,不具有法律效力。 有效专利
CN201910226875.6 2019-03-25 G01R29/12 {{ classMap["G01R29/12"] }}
安徽大学 查看申请人名下所有专利
安徽省合肥市经济技术开发区九龙路111号
专利分类项目
专利注册信息
初审公告期号 2019-03-25 初审公告日期 2020-12-25
注册公告期号 2020-12-25 注册公告日期 2020-12-25
专用权期限 2020-12-25 - 2030-12-23 专利类型 发明授权
代理组织机构 合肥国和专利代理事务所 查看该机构代理的所有专利
专利介绍
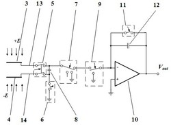
本发明公开了一种复合电极与制备及在电场检测中的应用,所述复合电极包括电极基底和P‑rGO复合材料,P‑rGO复合材料由P‑rGO二维薄膜和P‑rGO三维气凝胶构成,P‑rGO二维薄膜和P‑rGO三维气凝胶中含有碳、氧、硫、锌;复合电极的制备包括:1)基底的准备;2)P‑rGO水凝胶的制备;3)P‑rGO气凝胶电极的制备;检测装置的制备包括:1)传感器件的制备;2)检测装置的组装。本发明制得的复合电极有较高的电化学性能、抗振动性能和自愈性能,传感器件有很好的稳定性,传感器件对空间电场的检测能力优于普通的平行板电容器型传感器件,检测装置具有体积小、成本低、便于批量制造等优点。
法律进度
  • 2020-12-25 授权 ...

  • 2019-07-09 实质审查的生效 IPC(主分类): G01R 29/12 专利申请号: 201910226875.6 申请日: 2019.03 ...

  • 2019-06-14 公开 ...

同类专利
  • 智能模块、多功能装置及其在无线充电、电场感知、接近感知中的应用

  • 一种防雷检测用静电电位测试仪

  • 一种全固态MEMS电场传感器、制备方法及工作方法

咨询该专利

您还可以
推荐专利
{{ v.name }}
取 消 确 定