• 专利申请
    2019-02-28
  • 公布公告
    2020-11-17
  • 授权日期
    2020-11-17
  • 终止
    2030-11-15
螺旋式J型雨伞缓慢旋转沥干的J型雨伞放置架
螺旋式J型雨伞缓慢旋转沥干的J型雨伞放置架
* 专利信息仅供参考,不具有法律效力。 有效专利
CN201910152117.4 2019-02-28 A47G25/12 {{ classMap["A47G25/12"] }}
浙江三宝知识产权服务有限公司 查看申请人名下所有专利
浙江省金华市义乌市上溪镇和平村32号一楼
专利分类项目
专利注册信息
初审公告期号 2019-02-28 初审公告日期 2020-11-17
注册公告期号 2020-11-17 注册公告日期 2020-11-17
专用权期限 2020-11-17 - 2030-11-15 专利类型 发明授权
代理组织机构 浙江千克知识产权代理有限公司 查看该机构代理的所有专利
专利介绍
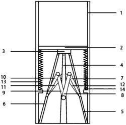
本发明公开了螺旋式J型雨伞缓慢旋转沥干的J型雨伞放置架,其结构包括沥干装置、放置筒、支架,沥干装置安装在放置筒中与放置筒机械连接,放置筒底部设有支架,支架与放置筒机械焊接,支架呈三角鼎立状设立,本发明的有益效果:通过伞柄会将两个夹板推开,并利用被挤压的环形伸缩杆上的反向作用力将伞柄夹住,从而实现避免伞柄在旋转的过程中会由于碰撞导致伞柄磨损,利用雨水的重力,使得螺旋盘的一侧倾斜向下,从而另一侧倾斜向上并拉伸与之相连接的弹簧,根据弹簧的弹性势能,弹簧具有一个反向的的作用力拉动螺旋盘反向倾斜,螺旋盘会往复倾斜,倾斜的过程中发生旋转,从而使得雨水从甩水框甩出,加速了雨伞沥干速度。
法律进度
  • 2020-12-01 专利权人的姓名或者名称、地址的变更 专利权人由浙江三宝知识产权服务有限公司变更为浙江三宝知识产权服务有限公司 地址由322006 浙江省金华市义乌 ...

  • 2020-11-17 授权 ...

  • 2020-11-10 专利申请权的转移 登记生效日: 2020.10.29 申请人由谢春粦变更为浙江三宝知识产权服务有限公司 地址由310016 浙江 ...

  • 2019-08-02 实质审查的生效 IPC(主分类): A47G 25/12 专利申请号: 201910152117.4 申请日: 2019.02 ...

  • 2019-07-09 公开 ...

同类专利

咨询该专利

您还可以
推荐专利
{{ v.name }}
取 消 确 定