- 
                        
                        
                            2018-08-14
                         
- 
                        
                        
                            2019-06-14
                         
- 
                        
                        
                            2019-06-14
                         
- 
                        
                        
                            2029-06-11
                         
                    
                    
                        
                        
                            
                                * 专利信息仅供参考,不具有法律效力。
                            
                            有效专利
                        
                        
                            
                                
                                CN201821307610.6
                                
                                
                                2018-08-14
                                
                                
                                C02F11/00 {{ classMap["C02F11/00"] }}
                                
                            
                            
                            
                                
                                湖南省株洲市天元区泰山西路88号
                                
                         
                     
                 
                
                                专利分类项目
                
                                专利注册信息
                
                    
                        
                            
                                | 初审公告期号 | 2018-08-14 | 初审公告日期 | 2019-06-14 | 
                            
                                | 注册公告期号 | 2019-06-14 | 注册公告日期 | 2019-06-14 | 
                            
                                | 专用权期限 | 2019-06-14 - 2029-06-11 | 专利类型 | 实用新型 | 
                            
                                | 代理组织机构 | 广州粤高专利商标代理有限公司
                                                                        
                                        查看该机构代理的所有专利 | 
                        
                    
                 
                专利介绍
                
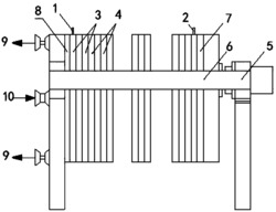
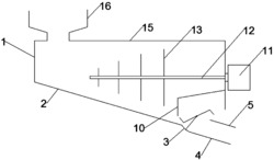
                    本实用新型属于环保技术领域,公开一种可自动送入生物炭的人畜排泄物处理装置,包括排泄物入口和设于其下方的排泄物接收层,排泄物接收层上具有孔隙供排泄物的液体通过,排泄物接收层一端与一排放腔连通,排泄物接收层上设有将排泄物推送至排放腔的扫除机构,排泄物接收层以下为液体排泄物容纳腔;排泄物接收层宽度方向上方横跨有一螺旋送料装置,螺旋送料装置包括可在动力带动下旋转的螺旋传送杆、包覆在螺旋传送杆外周的出料筒、与出料筒端部连通的送料筒,出料筒朝向排泄物接收层的外周面设有出料孔,送料筒用于盛放生物炭,生物炭可通过螺旋传送杆传送至排泄物接收层宽度方向并在传送过程中通过出料筒的出料孔落至排泄物接收层上。(ESM)同样的发明创造已同日申请发明专利
                
                法律进度
                                    
                
                                    同类专利
                    
                        
                            
                                
                                                                            - 
                                            
                                            
                                                微生物电解两段式污泥厌氧消化装置及利用该装置产甲烷的方法 
 
- 
                                            
                                            
                                        
- 
                                            
                                            
                                        
- 
                                            
                                            
                                        
- 
                                            
                                            
                                        
- 
                                            
                                            
                                        
- 
                                            
                                            
                                                一种高压脉冲电解装置及附加该装置的带式污泥压滤处理系统 
 
- 
                                            
                                            
                                        
- 
                                            
                                            
                                        
- 
                                            
                                            
                                        
- 
                                            
                                            
                                        
-