• 专利申请
    2018-08-01
  • 公布公告
    2019-06-14
  • 授权日期
    2019-06-14
  • 终止
    2029-06-11
一种高温导热油炭化装置
一种高温导热油炭化装置
* 专利信息仅供参考,不具有法律效力。 有效专利
CN201821230714.1 2018-08-01 C10B53/02 {{ classMap["C10B53/02"] }}
湖南工业大学 查看申请人名下所有专利
湖南省株洲市天元区泰山西路88号
专利分类项目
专利注册信息
初审公告期号 2018-08-01 初审公告日期 2019-06-14
注册公告期号 2019-06-14 注册公告日期 2019-06-14
专用权期限 2019-06-14 - 2029-06-11 专利类型 实用新型
代理组织机构 广州粤高专利商标代理有限公司 查看该机构代理的所有专利
专利介绍
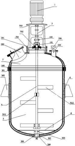
本实用新型涉及生物炭技术领域,更具体地,涉及一种高温导热油炭化装置,炭化装置包括底座及与底座可拆卸连接的上盖,底座为具有开口的腔体结构,上盖置于所述底座的开口处,与底座形成一个密闭空间;腔体结构用于放置高温导热油和植物纤维块,腔体结构中还设置有压块板;压块板置于植物纤维块上,用于阻止高温导热油的浮力使植物纤维块漂浮在高温导热油层表面与氧气接触;装置上还设有加热装置和排气装置。本实用新型具备结构简单、受热均匀和环保节能的优点,解决了生物炭制备效率低,污染环境的问题。
法律进度
  • 2019-06-14 授权 ...

同类专利

咨询该专利

您还可以
推荐专利
{{ v.name }}
取 消 确 定