• 专利申请
    2018-05-22
  • 公布公告
    2018-12-04
  • 授权日期
    2018-12-04
  • 终止
    2028-12-01
一种混凝土与土体界面剪切试验装置
一种混凝土与土体界面剪切试验装置
* 专利信息仅供参考,不具有法律效力。 有效专利
CN201820771697.6 2018-05-22 G01N3/24 {{ classMap["G01N3/24"] }}
湖南工业大学 查看申请人名下所有专利
湖南省株洲市天元区泰山西路88号
专利分类项目
专利注册信息
初审公告期号 2018-05-22 初审公告日期 2018-12-04
注册公告期号 2018-12-04 注册公告日期 2018-12-04
专用权期限 2018-12-04 - 2028-12-01 专利类型 实用新型
代理组织机构 广州三环专利商标代理有限公司 查看该机构代理的所有专利
专利介绍
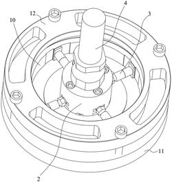
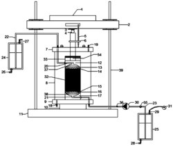
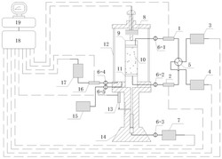
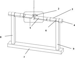
本实用新型涉及一种混凝土与土体界面剪切试验装置,属于岩土工程测试技术领域。本实用新型界面剪切装置由支架单元、剪切单元、加载单元及测量单元四部分组成。支架单元由方形底板、圆形支柱和带圆形凹槽顶板构成;剪切单元由带孔土样桶、混凝土圆柱形试件构成;加载单元由加载支架、加载传力支座、传力钢珠和加载盘构成;测量单元由升降装器、量力钢环、百分表和钢环定位支架组成。该界面剪切装置通过加载单元给土样桶中土体施加竖向压力,并通过土体对混凝土试件施加径向压力,然后通过测量单元中的升降器和量力钢环,对混凝土试件施加竖向推力,并同步测量量力钢环的变形量,从而对混凝土与土体界面的剪切特性进行试验。(ESM)同样的发明创造已同日申请发明专利
法律进度
  • 2018-12-04 授权 ...

同类专利
  • 大型城市生活垃圾的压缩与直剪关系联合测定仪

  • 单纤维界面剪切强度测试装置

  • 非均布法向荷载结构面直剪试验方法及辅助加载装置

  • 一种适用于测试土体在水循环渗透作用下力学特性的三轴装置及使用方法

  • 一种考虑冻融循环损伤的节理剪切强度的确定方法

  • 一种剪切试验装置

  • 一种土石混合体现场可拆卸直剪试验装置

  • 一种岩土层间剪切运动检测装置

  • 一种GDS三轴仪不排水条件下的反压控制系统及其操作方法

  • 一种基于单调三轴的洁净砂和粉砂单调剪切行为检测方法

  • 一种内孔涂层剪切结合强度测试装置

  • 一种管片纵向接头剪切刚度试验加载装置及方法

咨询该专利

您还可以
推荐专利
{{ v.name }}
取 消 确 定