• 专利申请
    2018-12-22
  • 公布公告
    2019-04-16
  • 授权日期
    2020-07-17
  • 终止
    2029-04-13
一种自锁式市政防盗井盖
一种自锁式市政防盗井盖
* 专利信息仅供参考,不具有法律效力。 有效专利
CN201811575840.5 2018-12-22 E02D29/14 {{ classMap["E02D29/14"] }}
黑龙江建筑职业技术学院 查看申请人名下所有专利
黑龙江省哈尔滨市利民开发区学院路
专利分类项目
专利注册信息
初审公告期号 2018-12-22 初审公告日期 2019-04-16
注册公告期号 2020-07-17 注册公告日期 2020-07-17
专用权期限 2019-04-16 - 2029-04-13 专利类型 发明公开
代理组织机构 哈尔滨龙科专利代理有限公司 查看该机构代理的所有专利
专利介绍
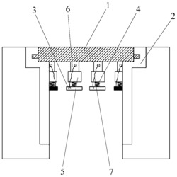
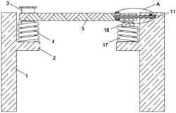
一种自锁式市政防盗井盖,涉及一种市政井盖。井盖支座为圆筒状,其内壁底端两侧一体制有两个平面安装部,其内壁邻近顶端位置一体制有环形限位部,两根导向立杆对称固定在两个平面安装部上表面,组合圆板中心设有螺纹通孔并通过一条径向切割线对称分为两部分,两部分分别设有导向孔与两根导向立杆一一滑动配合,两部分下表面分别通过弹簧固定有封堵板,两根插定立杆分别固定在两部分上表面,两部分通过两个固定板连接固定为一体,井盖板盖装在环形限位部上方,螺杆固定在井盖板下表面并与螺纹通孔螺接配合,井盖板下表面设有两个定位盲孔并与两根插定立杆顶端一一对应设置。具有自锁功能难以被盗,结构简单易于制造。
法律进度
  • 2023-09-12 专利权的转移 登记生效日: 2023.08.25 专利权人由黑龙江建筑职业技术学院变更为龙图腾网科技(合肥)股份有限公司 地 ...

  • 2023-09-12 专利权的转移 登记生效日: 2023.08.25 专利权人由龙图腾网科技(合肥)股份有限公司变更为合肥智慧龙机械设计有限公司 ...

  • 2020-07-17 授权 ...

  • 2019-05-10 实质审查的生效 IPC(主分类): E02D 29/14 专利申请号: 201811575840.5 申请日: 2018. ...

同类专利

咨询该专利

您还可以
推荐专利
{{ v.name }}
取 消 确 定