• 专利申请
    2018-12-04
  • 公布公告
    2020-12-15
  • 授权日期
    2020-12-15
  • 终止
    2030-12-13
基于灰尘检测的弧形吸烟机
基于灰尘检测的弧形吸烟机
* 专利信息仅供参考,不具有法律效力。 有效专利
CN201811469057.0 2018-12-04 F24C15/20 {{ classMap["F24C15/20"] }}
义乌市优创知识产权运营有限公司 查看申请人名下所有专利
浙江省金华市义乌市福田街道稠州北路999号国贸大厦1208室
专利分类项目
专利注册信息
初审公告期号 2018-12-04 初审公告日期 2020-12-15
注册公告期号 2020-12-15 注册公告日期 2020-12-15
专用权期限 2020-12-15 - 2030-12-13 专利类型 发明授权
代理组织机构 义乌市宏创专利代理事务所 查看该机构代理的所有专利
专利介绍
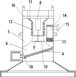
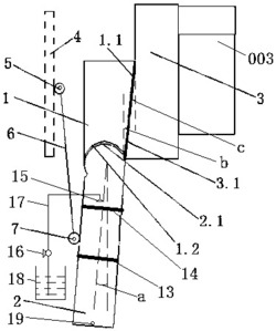
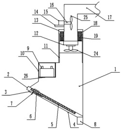
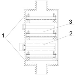
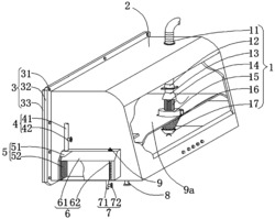
本发明涉及一种基于灰尘检测的弧形吸烟机,包括:全封闭电机,设置在集烟罩的外壳内,采用全封闭壳体,使用铜线执行导电操作,最高转速1100转每分钟;风机,由风柜和风轮配合组成,所述风柜采用蜗壳形状,由塑料和钢板焊接而成,用于汇集油烟,将油烟沿着旋转方向引至所述风柜的出口处;触摸开关,嵌入在集烟罩的外壳内,基于人体的感应电流动作,并具有电容屏;时分双工通信设备,用于在接收到灰尘超限信号时,通过时分双工通信链路向用户的移动终端转发所述灰尘超限信号,还用于在接收到灰尘合标信号时,通过时分双工通信链路向用户的移动终端转发所述灰尘合标信号。通过本发明,有效拓展了弧形吸烟机的辅助功能。
法律进度
  • 2020-12-15 授权 ...

  • 2020-11-27 专利申请权的转移 登记生效日: 2020.11.16 申请人由李珊珍变更为义乌市优创知识产权运营有限公司 地址由315400 浙 ...

  • 2019-04-26 实质审查的生效 IPC(主分类): F24C 15/20 专利申请号: 201811469057.0 申请日: 2018. ...

  • 2019-04-02 公开 ...

同类专利

咨询该专利

您还可以
推荐专利
{{ v.name }}
取 消 确 定