• 专利申请
    2018-10-31
  • 公布公告
    2020-10-09
  • 授权日期
    2020-10-09
  • 终止
    2030-10-07
具有压力补偿功能的双层卷制滴灌管、加工设备及方法
具有压力补偿功能的双层卷制滴灌管、加工设备及方法
* 专利信息仅供参考,不具有法律效力。 有效专利
CN201811288053.2 2018-10-31 A01G25/02 {{ classMap["A01G25/02"] }}
青岛农业大学 查看申请人名下所有专利
山东省青岛市城阳区长城路700号
专利分类项目
专利注册信息
初审公告期号 2018-10-31 初审公告日期 2020-10-09
注册公告期号 2020-10-09 注册公告日期 2020-10-09
专用权期限 2020-10-09 - 2030-10-07 专利类型 发明授权
代理组织机构 青岛中天汇智知识产权代理有限公司 查看该机构代理的所有专利
专利介绍
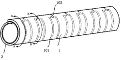
本发明公开了一种具有压力补偿功能的双层卷制滴灌管、加工设备及方法。滴灌管包括抗老化带层和弹性带层,抗老化带层的内表面上设置有消能凹槽、出水凹槽和压力调节凹槽,弹性带层贴在抗老化带层的内表面上形成管带,消能凹槽与弹性带层之间形成消能流道,出水凹槽与弹性带层之间形成出水流道,压力调节凹槽与弹性带层之间形成压力调节腔体,弹性带层上与压力调节凹槽相对的部位形成有进水区域,进水区域中开设有若干进水微孔;其中,管带上具有出水口的侧部为第一连接部,管带的另一侧部为第二连接部,第一连接部搭接在第二连接部的外部。实现提高具有压力补偿功能的双层卷制滴灌管的使用可靠性和使用寿命。
法律进度
  • 2020-10-09 授权 ...

  • 2019-02-01 实质审查的生效 IPC(主分类): A01G 25/02 专利申请号: 201811288053.2 申请日: 2018. ...

  • 2019-01-08 公开 ...

同类专利

咨询该专利

您还可以
推荐专利
{{ v.name }}
取 消 确 定