• 专利申请
    2018-10-12
  • 公布公告
    2020-06-30
  • 授权日期
    2020-06-30
  • 终止
    2030-06-28
一种能快速清理水龙头过滤网的装置
一种能快速清理水龙头过滤网的装置
* 专利信息仅供参考,不具有法律效力。 有效专利
CN201811190433.2 2018-10-12 F16K27/00 {{ classMap["F16K27/00"] }}
倪为勇 查看申请人名下所有专利
江苏省泰州市高港区大泗镇泗白路121号
专利分类项目
专利注册信息
初审公告期号 2018-10-12 初审公告日期 2020-06-30
注册公告期号 2020-06-30 注册公告日期 2020-06-30
专用权期限 2020-06-30 - 2030-06-28 专利类型 发明授权
代理组织机构 --
专利介绍
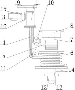
本发明涉及一种能快速清理水龙头过滤网的装置,属于卫浴用品技术领域。其包括清理装置本体,所述清理装置由外壳、内管和控制装置组成,所述内管安装在所述外壳的上端与下端之间,且所述内管穿过所述外壳的内部,所述控制装置安装在所述内管和所述外壳的一侧面之间,且所述控制装置还位于所述外壳的内部,所述外壳与所述内管的连接处均设有胶封,所述外壳与所述控制装置的连接处也设有胶封,所述内管与所述控制装置的连接处也设有胶封;本发明通过改变自来水通过过滤网的方向来冲走残留在过滤网的的颗粒及杂质,解决了现有技术清理过滤网的步骤繁琐及效率低,而且小孩及女孩子均不易操作的问题,从而实现了快速清理水龙头过滤网的效果。
法律进度
  • 2023-08-18 专利权的转移 登记生效日: 2023.08.02 专利权人由倪为勇变更为浙江康轩水暖科技有限公司 地址由225321 江苏省 ...

  • 2020-06-30 授权 ...

  • 2020-06-23 专利申请权的转移 登记生效日: 2020.06.04 申请人由北海农瑞农业技术开发有限公司变更为倪为勇 地址由536009 广西 ...

  • 2019-02-12 实质审查的生效 IPC(主分类): F16K 27/00 专利申请号: 201811190433.2 申请日: 2018. ...

  • 2019-01-15 公开 ...

同类专利

咨询该专利

您还可以
推荐专利
{{ v.name }}
取 消 确 定