• 专利申请
    2018-09-04
  • 公布公告
    2018-11-13
  • 授权日期
    2023-12-01
  • 终止
    2028-11-10
一种用于路面加速加载试验设备的锁块式单双轴转换装置
一种用于路面加速加载试验设备的锁块式单双轴转换装置
* 专利信息仅供参考,不具有法律效力。 有效专利
CN201811022212.4 2018-09-04 G01N33/42 {{ classMap["G01N33/42"] }}
山东交通学院 查看申请人名下所有专利
山东省济南市长清区长清大学科技园海棠路5001号
专利分类项目
专利注册信息
初审公告期号 2018-09-04 初审公告日期 2018-11-13
注册公告期号 2023-12-01 注册公告日期 2023-12-01
专用权期限 2018-11-13 - 2028-11-10 专利类型 发明公开
代理组织机构 --
专利介绍
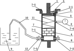
本发明提供一种用于路面加速加载试验设备的锁块式单双轴转换装置,属于试验设备技术领域,包括碾压部分和锁止部分。碾压部分包括加载梁、转换轴、平衡架、转轴、主动碾压轮组和从动碾压轮组;加载梁上表面水平;转换轴水平贯穿加载梁右侧,转换轴两端铰接连接试验设备;平衡架的中部通过转轴连接加载梁中部;主动碾压轮组和从动碾压轮组前后布置于转轴右侧和左侧后通过其本身具有的轮轴连接于平衡架。锁止部分包括上锁止块和下锁止块,上锁止块对称连接于转换轴两端,下锁止块对称连接于平衡架上表面,且上锁止块与下锁止块面面接触后,上锁止块和下锁止块完全抵消转换轴和平衡架之间存在的间隙。通过拆装上锁止块,灵活地实现试验设备的单双轴转换。
法律进度
  • 2023-12-01 授权 ...

  • 2018-12-07 实质审查的生效 IPC(主分类): G01N 33/42 专利申请号: 201811022212.4 申请日: 2018. ...

同类专利
  • 开放式沥青混合料、水和温度耦合的试验装置及方法

  • 一种用于直线循环式加速加载试验设备的H形导轨

  • 由破碎试验确定道路基层用混合粗集料级配的方法

  • 基于沥青结合料性能量化新-旧沥青界面融合程度的方法

咨询该专利

您还可以
推荐专利
{{ v.name }}
取 消 确 定