• 专利申请
    2018-08-28
  • 公布公告
    2019-01-15
  • 授权日期
    2020-11-24
  • 终止
    2029-01-12
一种中型客货船停泊涨潮退潮用的防撞装置
一种中型客货船停泊涨潮退潮用的防撞装置
* 专利信息仅供参考,不具有法律效力。 有效专利
CN201810990327.6 2018-08-28 E02B3/26 {{ classMap["E02B3/26"] }}
杜瑞青 查看申请人名下所有专利
天津市北辰区西平道5340号河北工业大学
专利分类项目
专利注册信息
初审公告期号 2018-08-28 初审公告日期 2019-01-15
注册公告期号 2020-11-24 注册公告日期 2020-11-24
专用权期限 2019-01-15 - 2029-01-12 专利类型 发明公开
代理组织机构 --
专利介绍
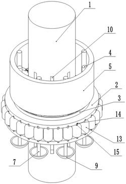
本发明涉及中型客货船停泊技术领域,且公开了一种中型客货船停泊涨潮退潮用的防撞装置,包括外部船护体,外部船护体的内壁焊接有内部固定框,内部固定框顶部的内壁通过螺钉连接有电动推杆,电动推杆的一端焊接有限位框,限位框一侧的内壁通过轴承连接有螺杆,螺杆的一端依次穿过船形密封体和限位框并与第一直齿轮的内壁焊接,第一直齿轮与第二直齿轮啮合,第二直齿轮的内壁焊接在异步电机的输出端,该中型客货船停泊涨潮退潮用的防撞装置,有效的减少中型客货船在涨潮或退潮时与码头之间的磨损,也可以有效的减少中型客货船在涨潮或退潮时波浪推动中型客货船晃动而撞击码头的效果,将有效的减少中型客货船左右舷受损的效果。
法律进度
  • 2020-11-24 授权 ...

  • 2020-11-03 专利申请权的转移 登记生效日: 2020.10.22 申请人由杜瑞青变更为涡阳县信隆船舶附件有限公司 地址由300400 天津市 ...

  • 2019-02-12 实质审查的生效 IPC(主分类): E02B 3/26 专利申请号: 201810990327.6 申请日: 2018.0 ...

  • 2019-01-15 公开 ...

同类专利

咨询该专利

您还可以
推荐专利
{{ v.name }}
取 消 确 定