• 专利申请
    2018-07-25
  • 公布公告
    2020-11-27
  • 授权日期
    2020-11-27
  • 终止
    2030-11-25
一种自带药片成粉功能的儿童喂药用勺
一种自带药片成粉功能的儿童喂药用勺
* 专利信息仅供参考,不具有法律效力。 有效专利
CN201810824425.2 2018-07-25 A61J7/00 {{ classMap["A61J7/00"] }}
浙江程诚文化用品有限公司 查看申请人名下所有专利
浙江省金华市义乌市福田街道商城大道L300号A座1410室
专利分类项目
专利注册信息
初审公告期号 2018-07-25 初审公告日期 2020-11-27
注册公告期号 2020-11-27 注册公告日期 2020-11-27
专用权期限 2020-11-27 - 2030-11-25 专利类型 发明授权
代理组织机构 浙江千克知识产权代理有限公司 查看该机构代理的所有专利
专利介绍
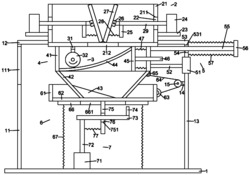
本发明公开了一种自带药片成粉功能的儿童喂药用勺,包括勺柄,所述勺柄底部的左侧固定焊接有中空管,所述勺柄的内腔贯穿连接有A轴,所述勺柄内腔的左侧固定焊接有A板,所述勺柄顶部的右侧开设有进料口,涉及生活用具技术领域。该自带药片成粉功能的儿童喂药用勺,采用在手柄内部对药片或者药丸进行碾压粉碎处理的方法来对孩子进行喂药工作,取代了传统碾药操较为复杂的步骤,使得给孩子喂药变得更加快捷方便,该自带药片成粉功能的儿童喂药用勺,进行碾碎处理的时候还可以不断将药粉推移,同时还可以控制每次喂药的量,避免药粉过多太苦导致孩子不愿意吃药,同时还可以对药粉进行短时间的存储,不会造成药粉的流失。
法律进度
  • 2023-01-03 专利权的转移 登记生效日: 2022.12.21 专利权人由浙江程诚文化用品有限公司变更为山东格式医疗器械有限公司 地址由3 ...

  • 2020-11-27 授权 ...

  • 2020-11-17 专利申请权的转移 登记生效日: 2020.11.05 申请人由张莉变更为浙江程诚文化用品有限公司 地址由238300 安徽省芜湖 ...

  • 2019-01-01 实质审查的生效 IPC(主分类): A61J 7/00 专利申请号: 201810824425.2 申请日: 2018.0 ...

同类专利

咨询该专利

您还可以
推荐专利
{{ v.name }}
取 消 确 定