• 专利申请
    2018-06-29
  • 公布公告
    2024-06-11
  • 授权日期
    2024-06-11
  • 终止
    2034-06-09
一种台钻钻孔十字激光定位装置
一种台钻钻孔十字激光定位装置
* 专利信息仅供参考,不具有法律效力。 有效专利
CN201810700144.6 2018-06-29 B23B47/00 {{ classMap["B23B47/00"] }}
扬州市职业大学 查看申请人名下所有专利
江苏省扬州市文昌西路
专利分类项目
专利注册信息
初审公告期号 2018-06-29 初审公告日期 2024-06-11
注册公告期号 2024-06-11 注册公告日期 2024-06-11
专用权期限 2024-06-11 - 2034-06-09 专利类型 发明授权
代理组织机构 北京慕达星云知识产权代理事务所 查看该机构代理的所有专利
专利介绍
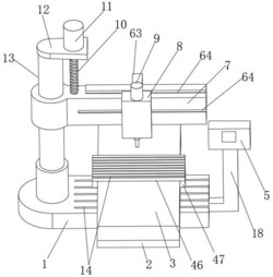
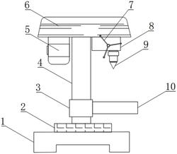
本发明公开了一种台钻钻孔十字激光定位装置,包括:三通套环、夹具底座、轴向调节机构、激光灯载具、十字激光灯和角度调节机构,其中,三通套环固定在台钻上,夹具底座安装在三通套环的一侧,轴向调节机构安装在夹具底座的首端,且与激光灯载具的首端相连,角度调节机构安装在夹具底座的末端,且与激光灯载具的末端相连,十字激光灯设置于激光灯载具上。本发明结构简单,操作简单,通过轴向调节机构和角度调节机构,可快速的确定需要钻孔的位置,减少了时间精力的浪费,大大提高了钻孔效率,同时提高了钻孔的精准度,使钻孔质量也得到了提高。
法律进度
  • 2024-06-11 授权 ...

  • 2018-12-18 实质审查的生效 IPC(主分类): B23B 47/00 专利申请号: 201810700144.6 申请日: 2018. ...

  • 2018-11-23 公开 ...

同类专利

咨询该专利

您还可以
推荐专利
{{ v.name }}
取 消 确 定