• 专利申请
    2018-06-22
  • 公布公告
    2020-09-04
  • 授权日期
    2020-09-04
  • 终止
    2030-09-02
一种柔性道路减速带
一种柔性道路减速带
* 专利信息仅供参考,不具有法律效力。 有效专利
CN201810651517.5 2018-06-22 E01F9/529 {{ classMap["E01F9/529"] }}
泰州市津专知识产权服务有限公司 查看申请人名下所有专利
江苏省泰州市高港区科创园创业大道北侧
专利分类项目
专利注册信息
初审公告期号 2018-06-22 初审公告日期 2020-09-04
注册公告期号 2020-09-04 注册公告日期 2020-09-04
专用权期限 2020-09-04 - 2030-09-02 专利类型 发明授权
代理组织机构 --
专利介绍
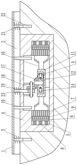
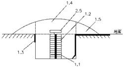
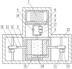
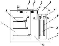
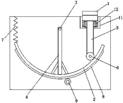
本发明涉及一种柔性道路减速带,属于道路交通设施技术领域,提供了一种结构简单,使用方便,利用液压缸的进出油流量控制减速带软硬的柔性道路减速带,所采用的技术方案为支架的顶部设置有减速带,支架上设置有多个导向套,导向套内安装有光杠,光杠的顶部均固定在顶板的底部,光杠的底部均固定在驱动板上,导向套和顶板之间设置有复位弹簧,支架的两侧均安装有油箱、液压缸,液压缸的活塞分别通过连接板与驱动板相连接,支架上还设置有滑套,活塞杆滑动安装在滑套内,液压缸内设置有油液腔,油液腔分别通过出油管和回油管与油箱相连接,出油管和回油管上均设置有单向阀,出油管上设置有调节阀;本发明广泛用于减速带。
法律进度
  • 2020-09-04 专利申请权的转移 登记生效日: 2020.08.14 申请人由王甲林变更为泰州市津专知识产权服务有限公司 地址由271406 山 ...

  • 2020-09-04 授权 ...

  • 2018-11-13 实质审查的生效 IPC(主分类): E01F 9/529 专利申请号: 201810651517.5 申请日: 2018. ...

同类专利

咨询该专利

您还可以
推荐专利
{{ v.name }}
取 消 确 定