• 专利申请
    2018-06-10
  • 公布公告
    2024-05-07
  • 授权日期
    2024-05-07
  • 终止
    2034-05-05
可改变空间的拉伸式快递柜
可改变空间的拉伸式快递柜
* 专利信息仅供参考,不具有法律效力。 有效专利
CN201810591486.9 2018-06-10 A47B81/00 {{ classMap["A47B81/00"] }}
华北理工大学 查看申请人名下所有专利
河北省唐山市曹妃甸区唐山湾生态城渤海大道21号
专利分类项目
专利注册信息
初审公告期号 2018-06-10 初审公告日期 2024-05-07
注册公告期号 2024-05-07 注册公告日期 2024-05-07
专用权期限 2024-05-07 - 2034-05-05 专利类型 发明授权
代理组织机构 --
专利介绍
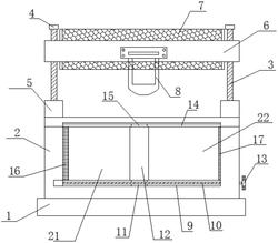
本发明公开了一种可改变空间的拉伸式快递柜,包括:立架、快递圆柱箱、伸缩架,快递圆柱箱中心孔与伸缩架一端装有的转动连接轴相连,伸缩架另一端装有的固定杆安装于立架表面的凹槽内,快递圆柱箱内部设有弹性软布;快递门安装于圆柱架外侧,横式把手安装于圆柱架顶部,快递圆柱箱设有几种不同的大小规格,每个快递柜对应不同规格的快递门,转动连接轴安装于伸缩杆垂直端。本产品整体外形为圆柱形,可旋转,能够灵活利用边角空间;快递圆柱箱内部安装有弹性软布,在起到隔层效果的同时实现对相邻快递柜剩余空间充分利用;每个快递圆柱箱均与伸缩架连接,每一层的快递圆柱箱可旋转和水平移动,便于同时取件;同时从内部和外部利用空间。
法律进度
  • 2024-10-15 专利权的转移 登记生效日: 2024.09.23 专利权人由华北理工大学变更为合肥名龙电子科技有限公司 国家或地区由中国变更 ...

  • 2024-05-07 授权 ...

  • 2018-09-14 实质审查的生效 IPC(主分类): A47B 81/00 专利申请号: 201810591486.9 申请日: 2018. ...

  • 2018-08-21 公开 ...

同类专利

咨询该专利

您还可以
推荐专利
{{ v.name }}
取 消 确 定