• 专利申请
    2018-04-18
  • 公布公告
    2020-09-15
  • 授权日期
    2020-09-15
  • 终止
    2030-09-13
一种船用气囊堵漏装置
一种船用气囊堵漏装置
* 专利信息仅供参考,不具有法律效力。 有效专利
CN201810350257.8 2018-04-18 B63B43/16 {{ classMap["B63B43/16"] }}
陈群 查看申请人名下所有专利
福建省福州市长乐市玉田镇东渡村建新路157号
专利分类项目
专利注册信息
初审公告期号 2018-04-18 初审公告日期 2020-09-15
注册公告期号 2020-09-15 注册公告日期 2020-09-15
专用权期限 2020-09-15 - 2030-09-13 专利类型 发明授权
代理组织机构 福州旭辰知识产权代理事务所 查看该机构代理的所有专利
专利介绍
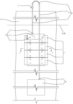
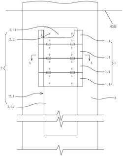
本发明涉及一种船用气囊堵漏装置,其特征在于:包括双层气囊、进气阀、气囊夹紧器、操作杆、小型高压储气罐和导气杆,所述双层气囊由密封内囊体和高强度外囊体构成薄壁双层气囊,所述双层气囊由底部锥形腔体和顶部半球形壳体组合而成,所述双层气囊底部通过气囊夹紧器与操作杆固接,所述操作杆为中空长圆管状,所述操作杆内腔置有小型高压储气罐,所述小型高压储气罐的罐口与进气阀连接,所述进气阀上端与导气杆连接。有益效果:采用双层气囊的楔形结构,堵漏尺寸范围大,具有很强的破口适应能力;锥形套筒式密封设计,双螺柱锁紧,既保证密封性能,又便于拆卸;通过摇把操作,瞬间释放高压气体,实现快速充气,快速堵漏。
法律进度
  • 2020-09-15 授权 ...

  • 2020-09-04 专利申请权的转移 登记生效日: 2020.08.18 申请人由天津艾孚森科技发展有限公司变更为陈群 地址由300457 天津市滨 ...

  • 2018-09-28 实质审查的生效 IPC(主分类): B63B 43/16 专利申请号: 201810350257.8 申请日: 2018. ...

  • 2018-09-04 公开 ...

同类专利

咨询该专利

您还可以
推荐专利
{{ v.name }}
取 消 确 定