• 专利申请
    2018-03-08
  • 公布公告
    2018-09-11
  • 授权日期
    2020-11-06
  • 终止
    2028-09-08
一种农业用的麦粒筛分装置
一种农业用的麦粒筛分装置
* 专利信息仅供参考,不具有法律效力。 有效专利
CN201810189892.2 2018-03-08 A01C1/00 {{ classMap["A01C1/00"] }}
郑莉 查看申请人名下所有专利
广东省广州市天河区五山路483号华南农业大学617号信箱
专利分类项目
专利注册信息
初审公告期号 2018-03-08 初审公告日期 2018-09-11
注册公告期号 2020-11-06 注册公告日期 2020-11-06
专用权期限 2018-09-11 - 2028-09-08 专利类型 发明公开
代理组织机构 --
专利介绍
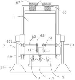
本发明涉及一种农业用的筛分装置,尤其涉及一种农业用的麦粒筛分装置。本发明要解决的技术问题是提供一种无需人们手持、劳动强度小、筛分效率高、不会导致手臂酸疼、有利于保护人们身体健康的农业用的麦粒筛分装置。本发明提供了这样一种农业用的麦粒筛分装置,包括有底座、筒体、第一L形支腿、第二L形支腿、过滤网、半圆形导向块、第一大导向杆、第一导向套、第一大定位螺杆等;筒体位于底座的上方,筒体左侧壁的下部连接有第一L形支腿。本发明所提供的一种农业用的麦粒筛分装置,无需人们手持筛子对干燥后的麦粒进行筛分,劳动强度小,筛分效率高,不会导致人们手臂酸疼,有利于保护人们的身体健康,性能安全可靠,结构简单。
法律进度
  • 2023-05-02 专利权的转移 登记生效日: 2023.04.19 专利权人由刘艳姣变更为湖南石盘米业有限公司 地址由225300 江苏省泰州 ...

  • 2020-11-06 授权 ...

  • 2020-10-30 专利申请权的转移 登记生效日: 2020.10.16 申请人由郑莉变更为刘艳姣 地址由510642 广东省广州市天河区五山路48 ...

  • 2018-10-09 实质审查的生效 IPC(主分类): A01C 1/00 专利申请号: 201810189892.2 申请日: 2018.0 ...

  • 2018-09-11 公开 ...

同类专利

咨询该专利

您还可以
推荐专利
{{ v.name }}
取 消 确 定