• 专利申请
    2018-02-08
  • 公布公告
    2024-05-14
  • 授权日期
    2024-05-14
  • 终止
    2034-05-12
一种立体车库负载平衡系统及负载平衡方法
一种立体车库负载平衡系统及负载平衡方法
* 专利信息仅供参考,不具有法律效力。 有效专利
CN201810126626.5 2018-02-08 B66B17/12 {{ classMap["B66B17/12"] }}
湖南电气职业技术学院 查看申请人名下所有专利
湖南省湘潭市岳塘区下摄司2号
专利分类项目
专利注册信息
初审公告期号 2018-02-08 初审公告日期 2024-05-14
注册公告期号 2024-05-14 注册公告日期 2024-05-14
专用权期限 2024-05-14 - 2034-05-12 专利类型 发明授权
代理组织机构 长沙智德知识产权代理事务所 查看该机构代理的所有专利
专利介绍
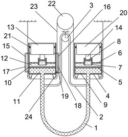
本发明公布了一种立体车库负载平衡系统及负载平衡方法,包括车库和载车平台,载车平台连接平衡重块,平衡重块连接有液压系统;换向阀设有油路切换位置,设有四个油口;举升油缸与换向阀其中两个油口管路连接,换向阀第三个油口通过调速阀A与油箱管路连接,换向阀第四个油口通过开关阀A与压力源和蓄能器管路连接,换向阀第四个油口同时还通过调速阀B、开关阀B与油箱管路连接;开关阀A、开关阀B上设有控制油路开与关的工作位置;控制器用于控制换向阀油路切换,同时控制开关阀A、开关阀B开启或关闭。本发明的目的是,提供一种立体车库负载平衡系统及负载平衡方法,实现液压系统上的压力平衡;减小液压系统负载的压力差;减少能量损耗。
法律进度
  • 2024-05-14 授权 ...

  • 2018-07-13 实质审查的生效 IPC(主分类): B66B 17/12 专利申请号: 201810126626.5 申请日: 2018. ...

  • 2018-06-15 公开 ...

同类专利

咨询该专利

您还可以
推荐专利
{{ v.name }}
取 消 确 定