• 专利申请
    2018-02-05
  • 公布公告
    2018-09-21
  • 授权日期
    2020-08-28
  • 终止
    2028-09-18
一种公路路沿石自动铺设机器人系统
一种公路路沿石自动铺设机器人系统
* 专利信息仅供参考,不具有法律效力。 有效专利
CN201810109379.8 2018-02-05 E01C19/52 {{ classMap["E01C19/52"] }}
秦皇岛点知汇科技有限公司 查看申请人名下所有专利
河北省秦皇岛市经济技术开发区天台山路万众大厦710室
专利分类项目
专利注册信息
初审公告期号 2018-02-05 初审公告日期 2018-09-21
注册公告期号 2020-08-28 注册公告日期 2020-08-28
专用权期限 2018-09-21 - 2028-09-18 专利类型 发明公开
代理组织机构 --
专利介绍
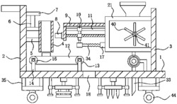
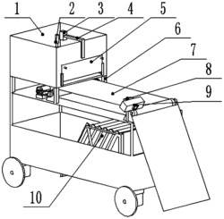
本发明公开一种公路路沿石自动铺设机器人系统,包括送石部分、切槽部分、地基材料回收部分。送石部分包括L形送石支架,L形送石支架前后分别设置有一个矩形通槽,L形送石支架前后的矩形通槽分别滑动安装有托杆,前、后托杆分别安装在左右两侧前面的偏心盘上、左右两侧后面的偏心盘上,切槽部分安装在车体的左侧,包括切割支架,切割支架左下端设置有锯支架,锯支架上表面左侧安装有电机,电机输出轴上安装有带轮,锯支架右下方安装有锯轴,锯轴外侧端部安装有被动带轮,带轮和被动带轮通过皮带传动。地基材料回收部分包括分离机,分离机一端设置有分离机输入管,所述的分离机通过连接管与粉碎机相通。
法律进度
  • 2023-08-18 专利权的转移 登记生效日: 2023.08.03 专利权人由泰州市津专知识产权服务有限公司变更为西安中交路通规划设计有限公司 ...

  • 2020-08-28 授权 ...

  • 2020-08-18 专利申请权的转移 登记生效日: 2020.07.30 申请人由秦皇岛点知汇科技有限公司变更为泰州市津专知识产权服务有限公司 地址 ...

  • 2018-10-23 实质审查的生效 IPC(主分类): E01C 19/52 专利申请号: 201810109379.8 申请日: 2018. ...

  • 2018-09-21 公开 ...

同类专利

咨询该专利

您还可以
推荐专利
{{ v.name }}
取 消 确 定